Запчасти Case IH 445CT (09-61) - COUNTERWEIGHT (09) - CHASSIS

Схема запчастей Case IH 445CT - (09-61) - COUNTERWEIGHT (09) - CHASSIS
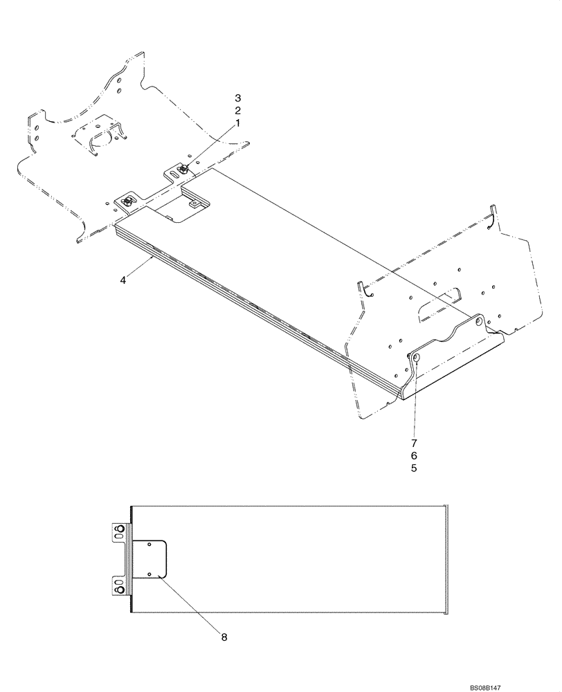
8
4
6
2
7
3
1
5
FIT
1:1
100%

Артикул

Название

Примечание

Количество

87671912

Kit, Counter Weight; Incl 1 - 8

DIA KIT, ADD PROD

1шт.

1

86536985

NUT,M20 x 2.5, Cl 10

2шт.

2

9847023

BOLT,Hex, M20 x 2.5 x 50mm, Cl 8.8, Full Thd

2шт.

3

87381

WASHER,0.81" ID x 1.47" OD x 0.13" Thk

2шт.

4

NSS

NOT SOLD SEPARAT

Weight

1шт.

5

86512555

NUT,M16 x 2, Cl 10

2шт.

6

86625266

WASHER,17.5mm ID x 30mm OD x 4mm Thk

2шт.

7

412185

CARRIAGE BOLT,Short Sq Nk, M16 x 2 x 50mm, Cl 8.8, Full Thd

2шт.

8

87672332

PLATE

1шт.

Выбрано товаров: 0