Запчасти Case IH 445CT (09-67) - BUCKETS, LOADER - 1860 MM (73 IN) WIDE BUCKET (09) - CHASSIS

Схема запчастей Case IH 445CT - (09-67) - BUCKETS, LOADER - 1860 MM (73 IN) WIDE BUCKET (09) - CHASSIS
19
9
bc02b050
3
10
13
11
6
3
17
1
8
2
5
14
7
12
15
16
4
15
7
18
FIT
1:1
100%

Артикул

Название

Примечание

Количество

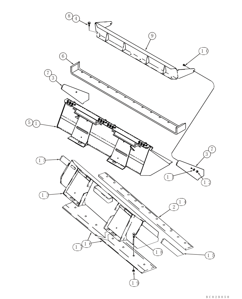
1

244554A2

ATTACHMENT

1860 mm (73 in); Machinery Item; Incl. 2 - 4

1шт.

2

H438919

EDGE, CUTTING

152 mm (6 in); Welded On

1шт.

3

245109A2

EDGE, CUTTING

Side; Welded On

2шт.

4

857-12030

BOLT,Hvy Hex, M12 x 30mm, Cl 10.9

4шт.

5

245078A2

BUCKET

1860 mm (73 in); Machinery Item; Incl. 6, 7

1шт.

6

245108A1

EDGE, CUTTING

Welded On

1шт.

7

245109A2

EDGE, CUTTING

Side; Welded On

1шт.

8

857-12030

BOLT,Hvy Hex, M12 x 30mm, Cl 10.9

Use Existing Hardware

4шт.

9

252645A2

HINGED SIDE

Used With 244554A2

1шт.

10

811-12035

CARRIAGE BOLT,Sht Sq Nk, M12 x 1.75 x 35mm, Cl 8.8

2шт.

11

86625256

WASHER,13.3mm ID x 28.5mm OD x 4mm Thk

2шт.

12

825-1412

NUT,M12, Cl 8

2шт.

13

H674862

BUCKET

1860 mm (73 in); Machinery Item; Incl. 10, 11

1шт.

14

H438919

EDGE, CUTTING

152 mm (6 in); Welded On

1шт.

15

H438259

EDGE

Side; Welded On

2шт.

16

294681A1

EDGE, CUTTING

1860 mm (73 in); Used With 244554A2

1шт.

17

H439029

EDGE, CUTTING

152 mm (6 in) wide; Used With H674862

1шт.

18

420-21036

CARRIAGE BOLT,#3, 5/8" - 11 x 2 1/4", Gr 8

12шт.

19

329-1010

NUT,5/8"-11, G8

12шт.

Выбрано товаров: 0