Запчасти Case IH 450CT (06-32H) - PUMP, TANDEM - CONTROL CARTRIDGE WITH ORIFICE (06) - POWER TRAIN

Схема запчастей Case IH 450CT - (06-32H) - PUMP, TANDEM - CONTROL CARTRIDGE WITH ORIFICE (06) - POWER TRAIN
1
3
2
FIT
1:1
100%

Артикул

Название

Примечание

Количество

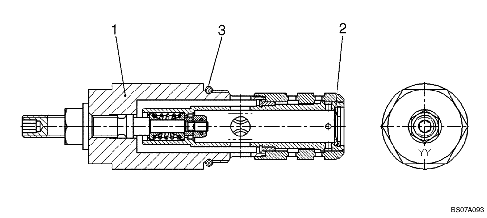
87614027

CARTRIDGE

Control Cartridge With Orifice; Incl. 1 - 3

1шт.

1

87597283

CARTRIDGE

Control Cartridge Without Orifice

1шт.

2

87614030

ORIFICE

1шт.

3

87597284

O-RING

O-Ring

1шт.

Выбрано товаров: 4