Запчасти Case IH 450CT (06-36[03]) - MOTOR ASSY - REXROTH - 2 SPEED CTL DRIVE MOTOR (450CT) (06) - POWER TRAIN

Схема запчастей Case IH 450CT - (06-36[03]) - MOTOR ASSY - REXROTH - 2 SPEED CTL DRIVE MOTOR (450CT) (06) - POWER TRAIN
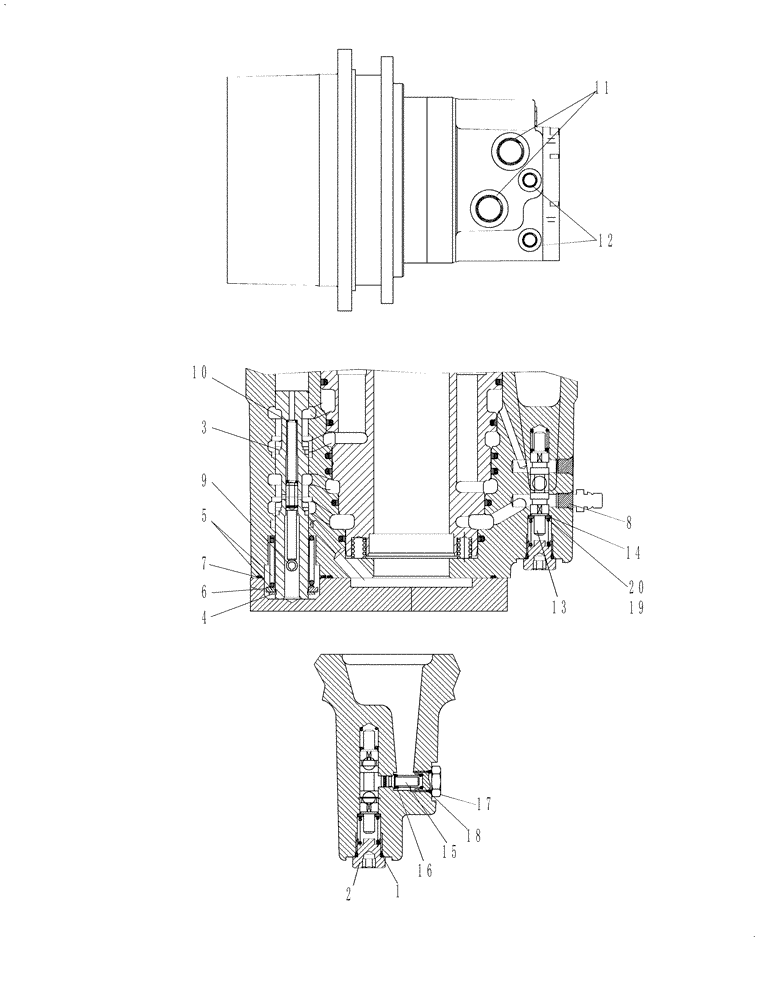
3
1
12
18
5
2
6
13
19
20
14
17
4
15
10
8
16
11
7
9
FIT
1:1
100%

Артикул

Название

Примечание

Количество

1

86632687

O-RING,0.078" Thk x 0.468" ID, -906, Cl 8, 90 Duro

.078x.468 906 8

1шт.

2

84305290

Flushing Spool

PLUG

1шт.

3

NSS

NOT SOLD SEPARAT

Shift Spool

1шт.

4

NSS

NOT SOLD SEPARAT

Washer, Retaining; 2 Speed Ramp

1шт.

5

NSS

NOT SOLD SEPARAT

Spring, Outer, Shift Spool

1шт.

6

NSS

NOT SOLD SEPARAT

Circlip, Ext Dia 18

1шт.

7

NSS

NOT SOLD SEPARAT

O-Ring 33.05x1.78 Viton

1шт.

8

NSS

NOT SOLD SEPARAT

Break-Off Plug

2шт.

9

NSS

NOT SOLD SEPARAT

Spring, Inner, Shift Spool

1шт.

10

NSS

NOT SOLD SEPARAT

Spring, Pin 6 Dia x 16

1шт.

11

NSS

NOT SOLD SEPARAT

Shipping Plug 1-1/16-12

2шт.

12

NSS

NOT SOLD SEPARAT

Shipping Plug 9/16-18

3шт.

13

87042928

SPOOL

Flushing

1шт.

14

87042929

WASHER

Flushing Spool

1шт.

15

87042931

POPPET,RV 1.7 Orifice

Flushing

1шт.

16

87042932

SPRING

Flushing Poppet

1шт.

17

87042933

POPPET,Plug, 7/16" SAE

Plug, Flushing 7-16-20 SAE

1шт.

18

NSS

NOT SOLD SEPARAT

O-Ring, 8.92x1.83

1шт.

19

87042934

SPRING

Flushing Spool, Side A

1шт.

20

87042935

SPRING

Flushing Spool, Side B

1шт.

Выбрано товаров: 20