Запчасти Case IH TR270 (90.105.CU) - COVERS & INSULATION (90) - PLATFORM, CAB, BODYWORK AND DECALS

Схема запчастей Case IH TR270 - (90.105.CU) - COVERS & INSULATION (90) - PLATFORM, CAB, BODYWORK AND DECALS
4
6
12
7
1
3
5
2
13
11
10
5
4
6
8
9
FIT
1:1
100%

Артикул

Название

Примечание

Количество

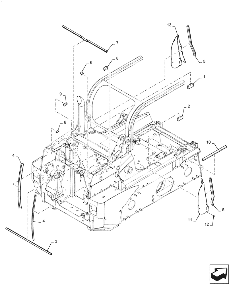
1

84600487

FOAM INSULATION

Hood, LH

1шт.

2

84600485

FOAM INSULATION

Hood, RH

1шт.

3

47729730

Bulb

SEAL

1шт.

4

47729715

L Flap

SEAL

2шт.

5

47729722

Adhesive

RUBBER SEAL,545mm L

2шт.

6

47729707

L Flap

SEAL

2шт.

7

47764946

Bulb

SEALING STRIP,877mm L

1шт.

8

47729705

Seal Block

FOAM

1шт.

9

47765520

Seal Block

FOAM INSULATION

1шт.

10

47729721

Adhesive

RUBBER SEAL,465mm L

2шт.

11

47830927

Chassis Solid, RH

COVER

1шт.

12

84285339

SELF-TAP SCREW,Hex, M8 x 1.25 x 15mm

6шт.

13

47816461

Chassis Solid, LH

COVER

1шт.

Выбрано товаров: 0