Запчасти Case IH TR340 (39.100.AB) - CHASSIS, RADIAL UPPER FRAME (39) - FRAMES AND BALLASTING

Схема запчастей Case IH TR340 - (39.100.AB) - CHASSIS, RADIAL UPPER FRAME (39) - FRAMES AND BALLASTING
4
8
4
7
5
5
4
13
5
5
3
11
2
12
4
6
9
1
10
14
3
15
5
3
5
FIT
1:1
100%

Артикул

Название

Примечание

Количество

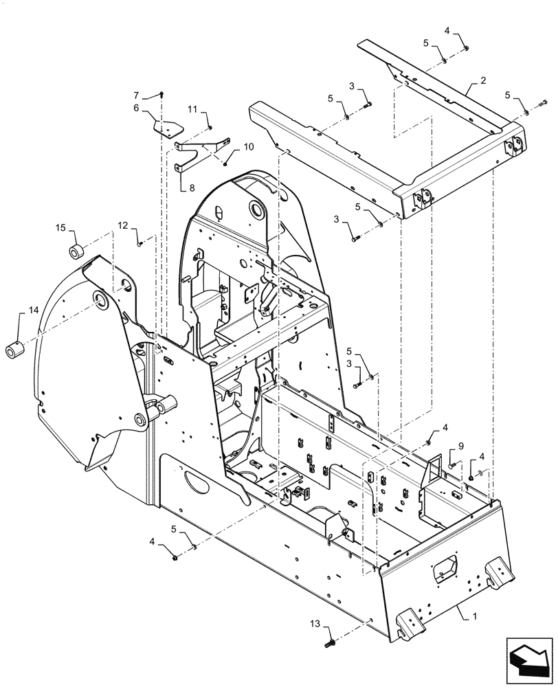
1

NS

NOT SERVICED

Lower Frame, Tan

1шт.

2

84309634

Upper, Radial, Gray

DRAWBAR FRAME

1шт.

3

337563

BOLT,M12 x 1.75 x 47.68mm, Cl 10.9

11шт.

4

86512497

FLANGE NUT,M12 x 1.75, Cl 10

12шт.

5

86625256

WASHER,13.3mm ID x 28.5mm OD x 4mm Thk

14шт.

6

47603335

Fuel Filter

BRACKET

1шт.

7

87016557

SELF-TAP SCREW,Hex, M8 x 1.25 x 25mm

3шт.

8

47695926

Bracket, RH, Gray

SUPPORT

1шт.

9

87035385

CARRIAGE BOLT,Sht Sq Nk, M12 x 35mm, Cl 8.8, Full Thd

1шт.

10

9804277

FLANGE NUT,Hex, M8 x 1.25, Cl 8

1шт.

11

9804278

FLANGE NUT,M10 x 1.5, Cl 8

3шт.

12

86633356

CARRIAGE BOLT,M10 x 34.8mm, Cl 8.8

3шт.

13

84162937

STUD,M16 x 50mm, Cl 9.8

Chassis

20шт.

14

84331416

Upper Frame to H-Link

HUB

2шт.

15

84201040

Upper Frame to H-Link

HUB

2шт.

Выбрано товаров: 15