Запчасти Case IH 586H (35.355.07) - VALVE SECTION SIDE SHIFT AND AUXILIARY CONTROL (35) - HYDRAULIC SYSTEMS

Схема запчастей Case IH 586H - (35.355.07) - VALVE SECTION SIDE SHIFT AND AUXILIARY CONTROL (35) - HYDRAULIC SYSTEMS
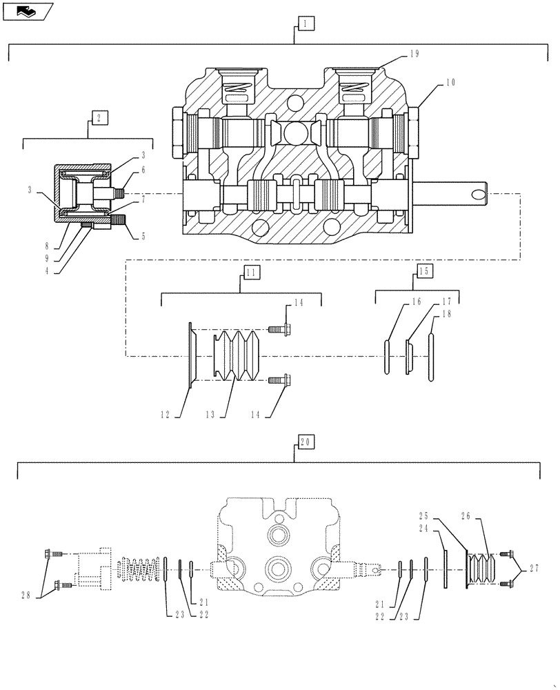
3
22
1
26
21
20
18
12
19
15
27
13
3
28
2
14
home
23
9
11
10
4
14
6
17
23
8
16
24
22
21
7
25
5
FIT
1:1
100%

Артикул

Название

Примечание

Количество

1

360521A1

HYD VALVE SECTION

Side Shift, With Work Port Restrictors, Ref 19, Incl 2 - 28

1шт.

1

375759A1

HYD VALVE SECTION

Auxiliary, Without Work Port Restrictor, Ref 19, Incl 2 - 18 , 20 - 28

1шт.

2

S300253

SET OF PARTS

Spool Positioner, Incl 3 - 9

1шт.

3

H267591

SPRING SEAT

Collar

2шт.

4

492-11025

LOCK WASHER,1/4"

2шт.

5

61-32528

HEX SOC SCREW,1/4"-20 x 1 3/4"

1шт.

6

N14593

STEP BOLT

Spool

1шт.

7

D87306

SPRING

Compression

1шт.

8

S300258

CAP

Cover

1шт.

9

193-558

SCREW,SEMS, Slot Fil Hd, 1/4"-20 x 7/8"

2шт.

10

L100937

PLUG

Load Check

2шт.

11

348741A1

KIT

Boot, Incl 12 - 14

1шт.

12

NSS

NOT SOLD SEPARAT

Retainer Incl in 11

1шт.

13

NSS

NOT SOLD SEPARAT

Boot Incl in 11

1шт.

14

61-3258

HEX SOC SCREW,1/4"-20 x 1/2"

2шт.

15

348738A1

SPOOL

Lip Seal, Spool, Incl 16 - 18

2шт.

16

NSS

NOT SOLD SEPARAT

Seal, Lip Seal Incl in 15

2шт.

17

NSS

NOT SOLD SEPARAT

Wiper Incl in 15

2шт.

18

NSS

NOT SOLD SEPARAT

Retainer, Seal Incl in 15

2шт.

19

360591A1

RESTRICTOR

Spring

2шт.

20

352796A1

PACKAGE

O-Ring, Spool, Retrofit, Incl 21 - 28

1шт.

21

D88728

O-RING,19.05mm ID x 25.4mm OD x 3.18mm Thk

Seal

2шт.

22

D88729

WASHER,0.76" ID x 1" OD x 0.05" Thk

Seal

2шт.

23

D88730

WASHER,0.77" ID x 1.43" OD

Seal

2шт.

24

N8194

LARGE PLATE

Retainer

1шт.

25

357163A1

RETAINER

Boot

1шт.

26

357164A1

BOOT

Dust

1шт.

27

61-3258

HEX SOC SCREW,1/4"-20 x 1/2"

2шт.

28

102201A1

HEX SOC SCREW,1/4" - 20 x 7/8", W/ Nylon Patch

2шт.

Выбрано товаров: 29