Запчасти Case IH 588H (35.740.AE[07]) - 8000 LB, 22 FT, FREELIFT CYLINDER ASSY (35) - HYDRAULIC SYSTEMS

Схема запчастей Case IH 588H - (35.740.AE[07]) - 8000 LB, 22 FT, FREELIFT CYLINDER ASSY (35) - HYDRAULIC SYSTEMS
5
5
11
5
10
7
5
5
2
8
13
6
1
5
5
home
12
9
5
4
3
FIT
1:1
100%

Артикул

Название

Примечание

Количество

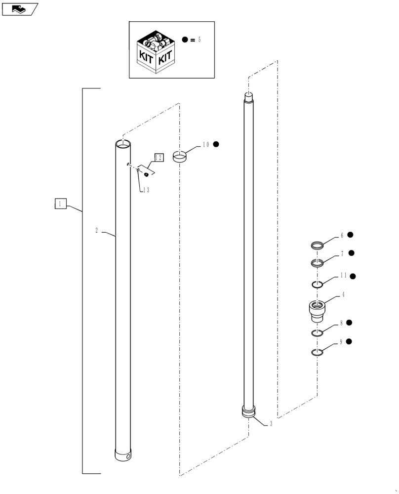
1

47778130

Rail, Mast Lift, Incl 2 - 13

HYDRAULIC CYLINDER

2шт.

2

337759A1

TUBE

1шт.

3

47778384

Piston

ROD

1шт.

4

360618A1

NUT

Gland

1шт.

5

362347A1

KIT

Seal, Incl 6 - 11

1шт.

6

360619A1

WIPER

1шт.

7

360620A1

CUP

1шт.

8

337769A1

BACK-UP RING

1шт.

9

337767A1

O-RING

1шт.

10

337770A1

WEAR RING

1шт.

11

360617A1

SEAL

1шт.

12

218-5207

PLUG,Hex Soc, 7/16"-20 ORB

Incl 13

1шт.

13

165202

O-RING,0.072" Thk x 0.351" ID, -904, Cl 6, 90 Duro

Incl in 12

1шт.

Выбрано товаров: 0