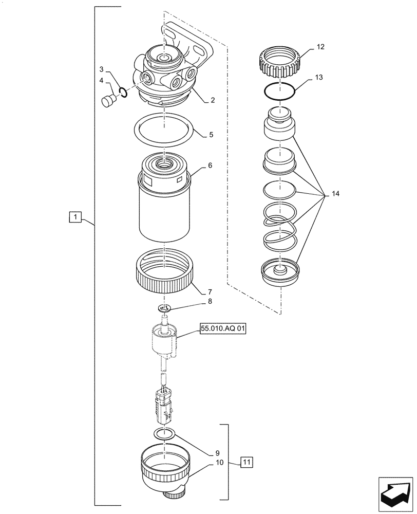
Запчасти Case IH 588H (10.216.BA[02]) - FUEL FILTER/WATER SEPARATOR, COMPONENTS (10) - ENGINE

Схема запчастей Case IH 588H - (10.216.BA[02]) - FUEL FILTER/WATER SEPARATOR, COMPONENTS (10) - ENGINE
55.010.aq 01
10
9
5
3
1
8
7
12
6
14
2
4
13
11
FIT
1:1
100%

Артикул

Название

Примечание

Количество

1

47541051

ASSY, Incl 2 - 14

FUEL FILTER,W/ WIF Sensor

1шт.

2

NSS

NOT SOLD SEPARAT

Filter Head, Incl in 1

1шт.

3

87840177

O-RING

Air Vent

1шт.

4

87840178

PLUG

Air Vent

1шт.

5

87840171

SEAL

Dust

1шт.

6

84565926

FUEL FILTER,20.6mm ID x 85mm OD x 154.3mm L, W/ Water Drain

1шт.

7

87840170

LOCKING RING

1шт.

8

87612469

SEALING WASHER

1шт.

9

87612471

SEAL

Water Bowl

1шт.

10

NSS

NOT SOLD SEPARAT

Bowl, Incl in 11

1шт.

11

87801005

KIT

Water Bowl, Incl 9, 10

1шт.

12

87840173

RETAINER

1шт.

13

87840174

O-RING

Top Cap

1шт.

14

87612472

KIT

Hand Primer

1шт.

87801004

SEAL KIT

Water Bowl Seals & Washer

1шт.

Выбрано товаров: 15