Запчасти Case IH 588H (21.126.AB[02]) - TRANSMISSION SHIFTING UNIT, 2WD & 4WD (21) - TRANSMISSION

Схема запчастей Case IH 588H - (21.126.AB[02]) - TRANSMISSION SHIFTING UNIT, 2WD & 4WD (21) - TRANSMISSION
8
16
23
24
14
7
11
3
19
17
20
5
12
10
9
12
13
21
4
22
6
15
2
1
9
4
17
9
18
FIT
1:1
100%

Артикул

Название

Примечание

Количество

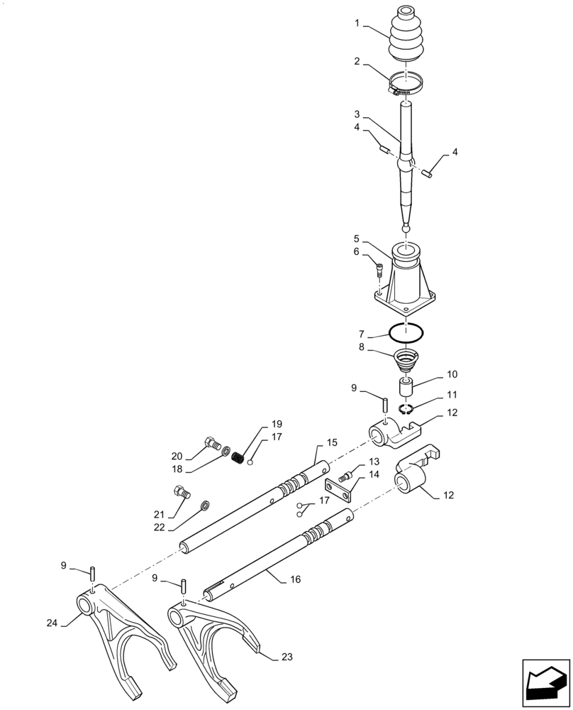
1

1967581C1

BOOT

Shifter

1шт.

2

181177A1

CLAMP

Spring

1шт.

3

190428A3

LEVER

Control

1шт.

4

1967585C1

PIN

Shaft

2шт.

5

181171A1

COVER

Shifting Unit

1шт.

6

864-8025

HEX SOC SCREW,M8 x 25mm, Cl 8.8

3шт.

7

181138A1

O-RING,0.103" Thk x 2.362" ID, -142, Cl 5, 75 Duro

1шт.

8

278533A1

SPRING

Return Lever

1шт.

9

905794R1

PIN,M6 x 30, Coiled

4шт.

10

278532A1

BUSHING

Shift Lever

1шт.

11

279039A1

RING, SNAP

Shift Lever

1шт.

12

181173A1

SELECTOR

Shifter

2шт.

13

864-10025

HEX SOC SCREW,M10 x 25mm, Cl 8.8

2шт.

14

181175A1

PLATE

Mounting

1шт.

15

181245A2

SHIFT RAIL

3rd and 4th Speed

1шт.

16

87578867

SHIFT RAIL

1st and 2nd Speed

1шт.

17

181139A1

BALL,10mm OD

Shift Rail

4шт.

18

87429994

SEALING WASHER,12mm ID x 20mm OD x 1.5mm Thk

12 X 20

2шт.

19

1966993C1

SPRING

Shift

2шт.

20

87701338

BOLT,M10 x 1.5 x 25 - 8.8

Transmission

2шт.

21

181100A1

PLUG,1/8 CAS x 8

Hex

1шт.

22

87429985

SEALING WASHER,10mm ID x 18mm OD x 1.5mm Thk

Sealing

1шт.

23

181203A1

SHIFTER FORK

3rd and 4th Speed

1шт.

24

181174A2

SHIFTER FORK

1st and 2nd Speed

1шт.

Выбрано товаров: 0