Запчасти Case IH 588H (89.100.AA[26]) - VAR - 423087, 745117 - MAST ASSEMBLY, 8000 LB, 22 FT, FREELIFT, 84 IN, SHAFT (89) - TOOLS

Схема запчастей Case IH 588H - (89.100.AA[26]) - VAR - 423087, 745117 - MAST ASSEMBLY, 8000 LB, 22 FT, FREELIFT, 84 IN, SHAFT (89) - TOOLS
15
29
32
35.740.ae 04
22
5
25
4
15
14
14
17
3
7
23
11
6
2
30
19
10
29
8
20
20
1
27
35
21
12
24
34
28
89.100.aa 27
36
13
16
31
26
18
9
33
FIT
1:1
100%

Артикул

Название

Примечание

Количество

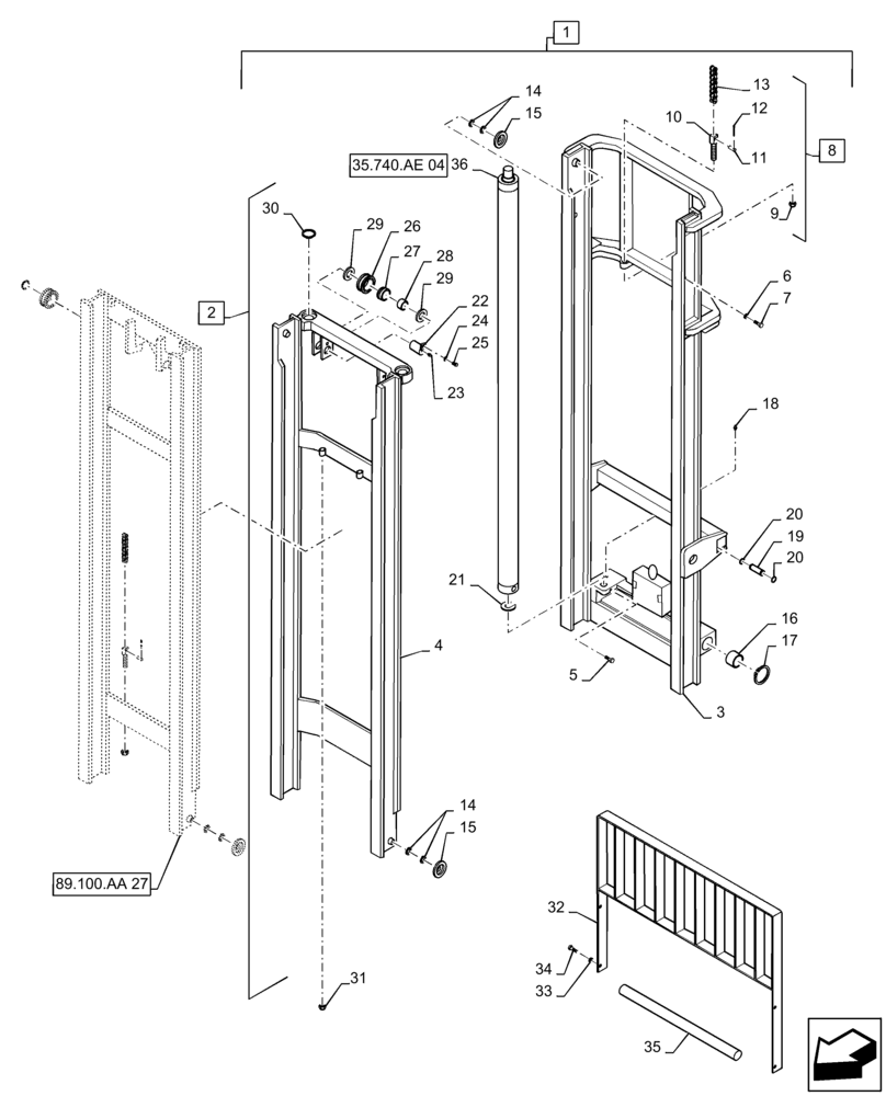
1

47631434

22 Ft, Shaft, Incl 2 - 36

MAST ASSEMBLY

1шт.

2

47772433

Rail, 3 - 30, 36

SUPPORT

1шт.

3

337780A1

RAIL

Outer

1шт.

4

337781A1

RAIL

Intermediate

1шт.

5

339777A1

BOLT

Cylinder Retaining

2шт.

6

492-11075

LOCK WASHER,3/4"

2шт.

7

339778A1

BOLT

Rail Stop

2шт.

8

363168A1

CHAIN (CE)

Incl 9 - 13

2шт.

9

231-24412

LOCK NUT,3/4"-16, GB

4шт.

10

339781A1

ANCHOR

Chain

4шт.

11

339782A1

PIN

Chain Connect

4шт.

12

339784A1

PIN, SPLIT (COTTER)

8шт.

13

363158A1

CHAIN (AG)

Mounts Through Carriage Chain Anchor

2шт.

14

337606A1

SHIM

1шт.

15

337607A1

ROLLER

Load

8шт.

16

339787A1

BUSHING

Mast

2шт.

17

103-21300

SNAP RING,3.00", Int, #300

2шт.

18

219-8

LUBE NIPPLE,1/4" - 28 NPTF

2шт.

19

339789A1

PIN

Tilt Mast

2шт.

20

103-11125

SNAP RING,#125, Ext

4шт.

21

339786A1

SHIM

0.76 mm (0.03 in)

1шт.

22

363509A1

PIN

Chain

2шт.

23

219-14

LUBE NIPPLE,1/4" NPTF

2шт.

24

492-11031

LOCK WASHER,5/16"

2шт.

25

413-512

BOLT,Hex, 5/16" - 18 x 3/4", Gr 5

2шт.

26

339806A1

ROLLER

Chain

2шт.

27

339808A1

BALL BEARING

Mast

2шт.

28

339810A1

RACE

Inner

2шт.

29

339811A1

THRUST WASHER

Thrust

4шт.

30

100-11175

SNAP RING,#175, Ext

2шт.

31

231-24412

LOCK NUT,3/4"-16, GB

4шт.

32

47636436

84"

BACKREST

1шт.

33

413-1024

BOLT,Hex, 5/8" - 11 x 1-1/2", Gr 5

4шт.

34

492-11062

BEARING WASHER,5/8"

4шт.

35

329457A1

SHAFT

Pivot, Mast

1шт.

36

337689A1

CYLINDER ASSY.

Rail

2шт.

Выбрано товаров: 36