Запчасти Case IH 1250 (8-02) - HYDRAULIC CONTROL VALVE, VERTICAL AUGER, 1250 MACHINES, PRIOR TO P.I.N. 7001 (07) - HYDRAULICS

Схема запчастей Case IH 1250 - (8-02) - HYDRAULIC CONTROL VALVE, VERTICAL AUGER, 1250 MACHINES, PRIOR TO P.I.N. 7001 (07) - HYDRAULICS
FIT
1:1
100%

Артикул

Название

Примечание

Количество

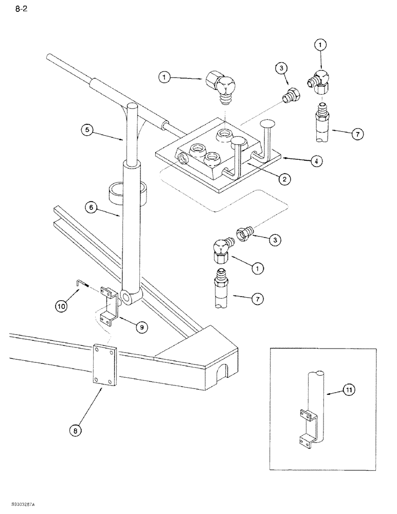
1

221-1414

ELBOW,90 Degree, 1/2"-14, NPT

- 1/2 inch x 90 degree street

6шт.

2

64978C1

VALVE

- hydraulic control

1шт.

3

217-45

REDUCER,3/4" - 14 NPTF x 1/2" - 18 Fem NPTF

adapter 3/4"-14 NPTF x 1/2"-18 Fem NPTF

2шт.

4

64977C1

PLATE - control

1шт.

5

64976C1

PIPE - inner adjuster

1шт.

6

76772C1

POST

ASSEMBLY - swinging

1шт.

7

366088R91

HOSE

ASSEMBLY - hydraulic, 1/2 x 61 inch

2шт.

8

64974C1

BAR - control post clamp

1шт.

9

76773C1

BRACKET

ASSEMBLY - swinging post mounting

1шт.

10

76774C1

PIN

- swinging post

1шт.

11

64975C1

POST

ASSEMBY - fixed

1шт.

Выбрано товаров: 11