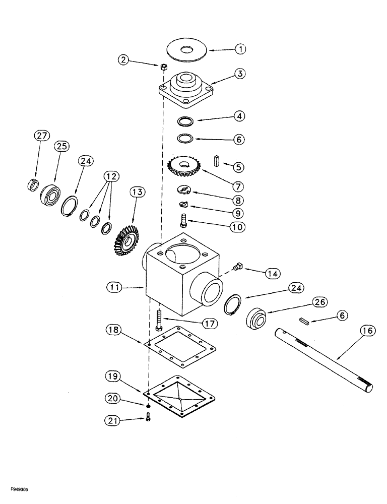
Запчасти Case IH 1260 (9B-014) - GEARBOX (12) - CHASSIS

Схема запчастей Case IH 1260 - (9B-014) - GEARBOX (12) - CHASSIS
6
7
16
24
13
5
21
6
14
11
18
3
1
17
1
8
12
24
4
26
27
2
25
19
9
20
FIT
1:1
100%

Артикул

Название

Примечание

Количество

1

475775R1

WASHER

PLATE bearing protector

1шт.

2

231-4118

LOCK NUT,1/2"-13, GB

hex, self locking, 1/2 inch NC

4шт.

3

487921R91

FLANGED BEARING

flanged cartridge

1шт.

4

495-81089

WASHER,1.66" ID x 2.25" OD x 0.12" Thk

flat, 1-21/32 x 2-1/4 x 7/64 inch

1шт.

5

581306R1

KEY,5/16" Sq x 1 1/4", Par

1шт.

6

495-81090

WASHER,42.06mm ID x 63.5mm OD x 0.84mm Thk

flat, 1-21/32 x 2-1/2 x 1/32 inch

2шт.

7

487865R1

GEAR

bevel, 17 teeth

1шт.

8

487867R1

LOCK WASHER

gear

1шт.

9

475781R1

WASHER

locking, special

1шт.

10

413-820

BOLT,Hex, 1/2" - 13 x 1-1/4", Gr 5

1шт.

11

1281268C1

HOUSING

GEARBOX mixer

1шт.

12

95-81129

WASHER,1 9/32" x 1 3/4" x .060"

flat, 1-9/32 x 1-3/4 x 1/16 inch

1шт.

12

495-81204

WASHER,1 9/32" x 2" x .036"

flat, 1-9/32 x 2 x 1/32 inch

2шт.

13

487866R1

GEAR

bevel, 17 teeth

1шт.

14

217-442

PLUG,3/4" - 14

hex socket, 3/4 inch PT

1шт.

16

79770C1

SHAFT

gearbox

1шт.

17

326-836

BOLT,Hex, 1/2" - 13 x 2-1/4", Gr 8

4шт.

18

1251004C1

GASKET

gearbox

1шт.

19

1251005C1

COVER

gearbox

1шт.

20

492-11031

LOCK WASHER,5/16"

10шт.

21

413-512

BOLT,Hex, 5/16" - 18 x 3/4", Gr 5

10шт.

24

488490R1

RING

retaining

3шт.

25

487927R91

BALL BEARING,31.75mm ID x 72mm OD x 17mm W

ball

1шт.

26

175270A1

BEARING ASSY,1.25" ID

shaft

1шт.

27

487928R91

BEARING SET,2.8348" OD x 1.76"

COLLAR locking

1шт.

Выбрано товаров: 25