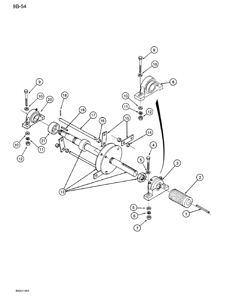
Запчасти Case IH 1350 (9B-54) - HAMMERMILL SHAFT, 1350 MACHINES (09) - CHASSIS ATTACHMENTS

Схема запчастей Case IH 1350 - (9B-54) - HAMMERMILL SHAFT, 1350 MACHINES (09) - CHASSIS ATTACHMENTS
FIT
1:1
100%

Артикул

Название

Примечание

Количество

1

64668C1

KEY

- tapered

1шт.

2

79747C1

PULLEY

- 12 groove

1шт.

3

1265722C91

HOUSING ASSY.

BEARING - pillow block (Machines built prior to PIN 631)

1шт.

4

113-626

BOLT,Hex, 5/8" - 11 x 2-1/2", Gr 5

4шт.

5

21793R1

WASHER

- flat, 21/32 x 1-1/4 x 5/32 inch

8шт.

6

492-11062

BEARING WASHER,5/8"

WASHER, LOCK, 5/8"

4шт.

7

425-1010

NUT,5/8"-11, G5

4шт.

8

485936R91

BEARING CARRIER

BEARING - pillow block (Machines built PIN 631 and after)

1шт.

9

413-1048

BOLT,Hex, 5/8" - 11 x 3", Gr 5

4шт.

10

495-81179

WASHER,21/32" x 1 1/4" x .179"

- flat, 21/32 x 1-1/4 x 5/32 inch

8шт.

11

492-11062

BEARING WASHER,5/8"

WASHER, LOCK, 5/8"

4шт.

12

425-1010

NUT,5/8"-11, G5

4шт.

13

79744C1

SHAFT

- rotor

1шт.

14

555696R1

SPACER,3/4" Pipe x 5/8"

- hammer

48шт.

15

79746C91

HAMMERS - set of 48 (Includes tool)

1шт.

15

476672R91

HAMMER

S - set of 2

24шт.

16

582542R1

SPACER,3/4" Pipe x 1 1/4"

- pipe, 3/4 x 1-1/4 inch

24шт.

17

79745C1

PIN

- hammermill

4шт.

18

576485R1

LOCK PIN,1/4" x 1 1/4", Slotted

8шт.

19

Q63

KEY,3/8" Sq x 1 1/2", Par

- square parallel, 3/8 x 1-1/2 inch

1шт.

20

475764R91

BEARING ASSY,5" OD x 2.38"

BEARING - pillow block, ball

1шт.

21

1986300C1

SPACER

- bearing

1шт.

Выбрано товаров: 22