Запчасти Case IH 1350 (9B-70) - UNIVERSAL JOINTS, ROCKWELL STANDARD (09) - CHASSIS ATTACHMENTS

Схема запчастей Case IH 1350 - (9B-70) - UNIVERSAL JOINTS, ROCKWELL STANDARD (09) - CHASSIS ATTACHMENTS
FIT
1:1
100%

Артикул

Название

Примечание

Количество

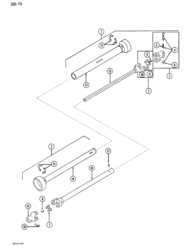
1

493828R91

JOINT

- single universal shielded, with decal (Front half tractor end for 540 rpm PTO) (Rockwell Standard, identified by RS)

1шт.

1

493829R91

JOINT

- single universal shielded, with decal (Front half tractor end for 1000 rpm PTO) (Rockwell Standard, identified by RS)

1шт.

2

493830R91

JOINT

ASSEMBLY - single universal shielded (Rear half implement end for 540 or 1000 rpm PTO) (Rockwell Standard, identified by RS)

1шт.

3

493850R91

YOKE

ASSEMBLY - quick detachable (See Note A)

1шт.

3

493851R91

YOKE

ASSEMBLY - quick detachable (See Note B)

1шт.

4

455346R21

PIN

ASSEMBLY - lock (See Note A and B)

1шт.

5

455347R1

VALVE SPRING

SPRING - lock pin

1шт.

6

661406R1

LOCK WASHER,4.83mm ID x 18.542mm OD x 1.65mm Thk

- lock pin

1шт.

7

493849R91

KIT

- centre cross (See Note A, B and C)

1шт.

8

80711

LUBE NIPPLE,65 Degree, 1/8" NPT x 7/8" lg

FITTING - lube, 1/8, 65 degree

1шт.

9

540057R1

RING

- snap

4шт.

10

NSS

NOT SOLD SEPARAT

CUP - needle bearing

1шт.

11

493848R1

BEARING HALF

- nylon (See Note A, B and C)

2шт.

12

493833R1

SHIELD

- outer, with decal (See Note A and B)

1шт.

13

493831R1

YOKE

- with shaft (See Note A and B)

1шт.

14

493834R1

SHIELD

- inner (See Note C)

1шт.

15

493835R1

YOKE

(See Note C)

1шт.

21959R1

HEADED PIN,5/16" x 3 1/2"

PIN - standard head, 5/16 x 3-1/2 inch (See Note C)

1шт.

648002

KNIFE

1/8" x 3/4" (See Note C)

1шт.

Q63

KEY,3/8" Sq x 1 1/2", Par

- square parallel, 3/8 x 1-1/2 inch (See Note C)

1шт.

16

493832R1

TUBE

YOKE - with tube (See Note C)

1шт.

17

19688R1

LUBE NIPPLE,1/4"-28 x .44" lg

FITTING - 1/4 UNF, less ball check (See Note C)

1шт.

18

21959R1

HEADED PIN,5/16" x 3 1/2"

PIN - standard head, 5/16 x 3-1/2 inch (See Note C)

1шт.

432-1016

COTTER PIN,5/32" x 1"

(See Note C) 5/32" x 1"

1шт.

Выбрано товаров: 24