Качественные детали и логистика
Оригинальные и аналоговые запчасти с доставкой по России, Казахстану и Беларуси
©2022 PartSell ООО "Система" ИНН 2463123282 ОГРН 1212400004838
Центральный офис: г. Красноярск, Академика Киренского, д.87, пом.4
Телефон: 8 (800) 777-65-74 Email: zakaz@partsell.ru
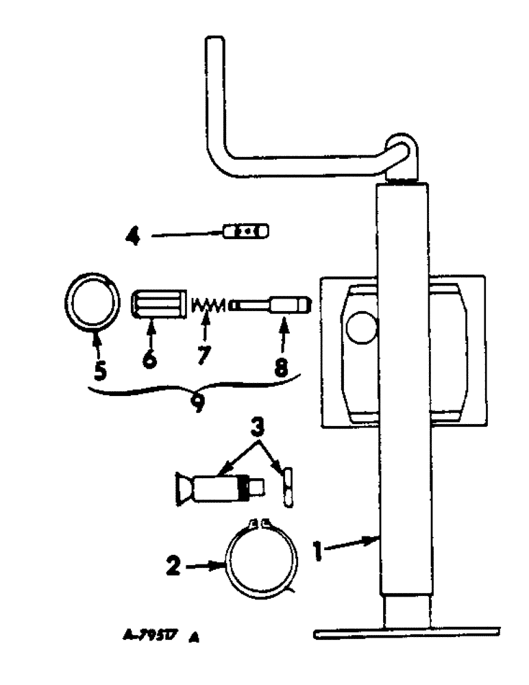
(A-14) - SWIVEL TYPE JACK
№
Артикул
Название
Примечание
Количество
1
475862R92
JACK
ASSY, swivel type
1шт.
2
475863R1
RING
snap
3
475864R91
PIN
ASSY, lock, order pin assy, 486713R91
4
475865R91
BEARING, thrust
5
486717R1
RING, lock pin
6
486714R1
HOUSING, lock pin
7
486716R1
SPRING, lock pin
8
486715R1
PLUNGER, lock pin
9
486713R91
ASSY, lock, will work for 475864R91
Выбрано товаров: 0