Запчасти Case IH 85 (A-06) - AUGER FEED DRIVE UNIT

Схема запчастей Case IH 85 - (A-06) - AUGER FEED DRIVE UNIT
FIT
1:1
100%

Артикул

Название

Примечание

Количество

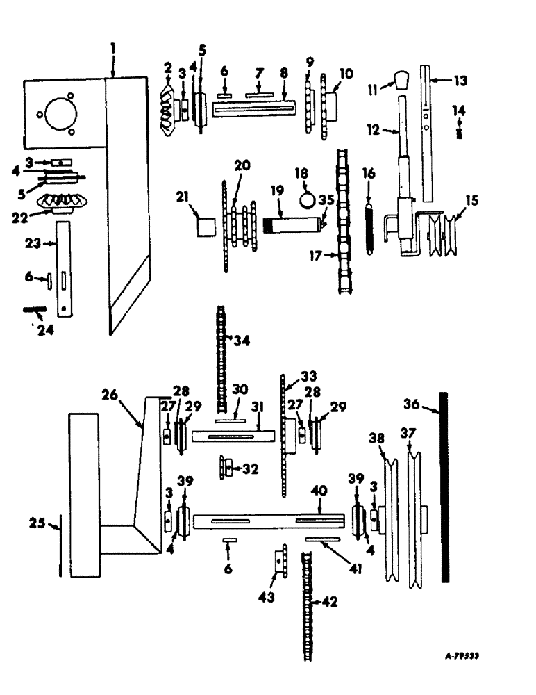
1

475675R91

DRIVE UNIT, top drag

1шт.

80280503

CARRIAGE BOLT,Sht Sq Nk, 3/8" - 16 x 1", Gr 5, Full Thd

BOLT, 3/8-16 x 1 short-sq-nk crg

2шт.

472145R1

NUT, 3/8-16 whiz lock flange

4шт.

NLS

NO LONGER SERVICED

2шт.

2

475676R1

GEAR, bevel, 14T

1шт.

3

668085R11

COLLAR

W/SET SCREW, brg locking

4шт.

4

455965R92

BEARING

W/OUT COLLAR, ball

4шт.

5

462360R1

FLANGED BEARING

bearing mounting

4шт.

12872R1

BOLT,Short NK, 5/16"-18 x 1", G2, Full Thd

CARRIAGE, Short NK, 5/16"-18 x 1", G2, Full Thd

6шт.

938017R1

FLANGE NUT,Flg, USR, 5/16"-18

5/16-18 whiz lock flange

6шт.

6

Q53

KEY,1/4" Sq x 1", Par

3шт.

7

479370R1

KEY,1/4" Sq x 2", Par

1/4 x 2 sq parallel, will work for 475677R1

1шт.

8

475678R1

SHAFT

1 in. x 6-1/4 in.

1шт.

9

475679R1

SPROCKET ASSY.

SPROCKET, 17T

1шт.

10

475680R1

SPROCKET ASSY.

SPROCKET, 22T

1шт.

11

475681R1

HANDLE, rubber clutch

1шт.

12

475682R91

CLUTCH ASSY, drag control

1шт.

13

475683R91

LOCK, clutch

1шт.

14

475684R1

SPRING, compression

1шт.

15

475685R1

PULLEY

idler

2шт.

15108R1

BOLT, 3/8-16 x 2-1/2 sq-nk crg

1шт.

120377

NUT,3/8" - 16, Gr 5

1шт.

120382

LOCK WASHER,Helical Spring, 3/8"

WASHER, LOCK, 3/8"

1шт.

16

475686R1

SPRING

extension

1шт.

17

CHAIN, auger feed, use 35 links of 1-1/4 extended pitch agricultural transmission roller chain from a 10 ft. roll marked 569089R91, 1 connecting link, 456980R91 and 2 offset links, 456929R91

1шт.

18

454417R1

SNAP RING,#100, Ext

Ring, Snap, #100, Ext

1шт.

19

475687R1

SHAFT

1 in. x 4-1/2 in.

1шт.

20

475688R91

SPROCKET ASSY.

SPROCKET ASSY

1шт.

21

475689R1

BUSHING

1 x 1-1/4 x 1-1/4 brass

2шт.

22

475676R1

GEAR, bevel, 14T

1шт.

23

475690R1

SHAFT

drive

1шт.

24

616253R1

LOCK PIN,5/16" x 1 5/8", Slotted

Pin, 5/16" x 1 5/8", Slotted

1шт.

25

475691R1

SHIM

bottom drive unit

1шт.

26

475692R91

BRACKET

DRIVE UNIT, bottom

1шт.

120378

NUT,Hex, 1/2" - 13, Gr 5

NUT, 1/2"-13, G5

2шт.

179885

BOLT,Hex, 1/2" - 13 x 1 1/2", Gr 5

2шт.

120384

WASHER,1/2"

LOCK, 1/2"

2шт.

446221

WASHER,7/16"

1/2 x 1-1/8 x 14 ga

2шт.

27

470119R11

COLLAR

W/SET SCREW, brg locking

2шт.

28

455957R92

BEARING ASSY,19.05mm ID x 47mm OD x 14mm W

W/OUT COLLAR, ball

2шт.

29

469910R1

FLANGE

bearing mounting

4шт.

16897R1

CARRIAGE BOLT,Short Nk, 5/16" - 18 x 3/4", Gr 2, Full Thd

BOLT, 5/16-18 x 3/4 short-sq-nk crg

8шт.

938017R1

FLANGE NUT,Flg, USR, 5/16"-18

5/16-18 whiz lock flange

8шт.

30

475655R1

KEY, 1/4 x 2-1/4 sq parallel

1шт.

31

475656R1

SHAFT

3/4 in. x 6 in.

1шт.

32

475693R1

SPROCKET ASSY.

SPROCKET

1шт.

32a

75988C1

SPROCKET ASSY.

18 teeth

1шт.

83-1254

SET SCREW,Hex Soc, 1/4"-20 x 1/4"

SCREW, 1/4-20 x 1/4 hex-soc-hd cup-pt set

1шт.

33

476175R1

SPROCKET ASSY.

SPROCKET

1шт.

222458

SCREW, 5/16-18 x 1/4 hex-soc-hd f-pt set

1шт.

34

CHAIN, drive unit, use 49 links of 1/2 standard roller chain from a 10 ft. roll marked, 1790D, 1 connecting link 1301D and 2 offset links, 1303D

1шт.

35

109461

LUBE NIPPLE,1/8"-27 x .66 lg

NIPPLE, LUBE, , PTF 1/8"-27 x .66 lg

1шт.

36

475694R1

V-BELT,46.00" L

46.00" L

1шт.

37

475695R1

PULLEY

10 in.

1шт.

38

475696R1

PULLEY

9 in.

1шт.

39

612031R1

FLANGED BEARING

bearing mounting

2шт.

14994R1

CARRIAGE BOLT,Sq Nk, 5/16" - 18 x 3/4", Gr 2

BOLT, CARRIAGE, Short NK, 5/16"-18 x 3/4", G2

4шт.

632225R1

LOCK NUT

5/16-18 whiz lock flange

4шт.

40

475697R1

SHAFT

1 in. x 11 in.

1шт.

41

126

KEY,1/4" Sq x 2 1/2", Par

1/4 x 2-1/2 sq parallel

1шт.

42

CHAIN, drive unit, use 59 links of 1/2 std roller chain from a 10 ft roll marked, 1790D, 1 connecting link, 1301D and 2 offset links, 1303D

1шт.

43

475699R1

SPROCKET ASSY.

SPROCKET, 13 teeth

1шт.

102580

GUIDE

SCREW, 5/16-18 x 1/4 hex-soc-hd cup-pt set

1шт.

Выбрано товаров: 63