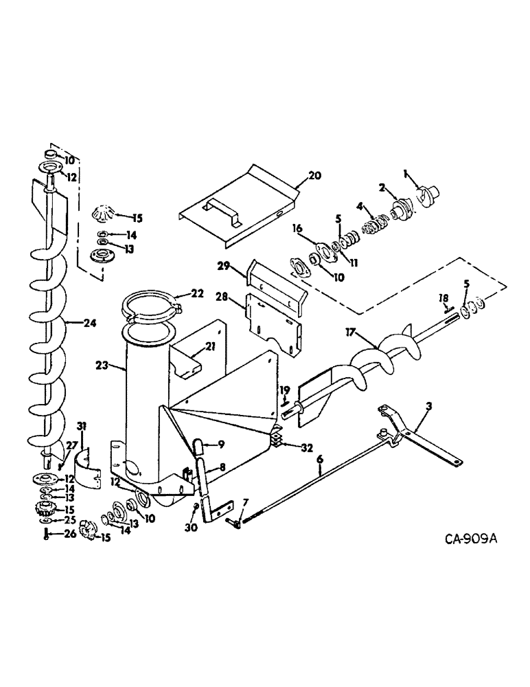
Запчасти Case IH 950 (C-18) - BACK UNLOADING AUGER, 6" AUGER & 7" TUBE, 950 S/N 2217 & BELOW, 1150 S/N 6432 & BELOW

Схема запчастей Case IH 950 - (C-18) - BACK UNLOADING AUGER, 6" AUGER & 7" TUBE, 950 S/N 2217 & BELOW, 1150 S/N 6432 & BELOW
FIT
1:1
100%

Артикул

Название

Примечание

Количество

1

492099R1

CLUTCH

front

1шт.

L418C

HEADED PIN,5/16" x 2 3/8"

PIN, 5/16 x 2-3/8 std-hd

1шт.

103384

COTTER PIN,1/8" x 3/4"

Pin, Split (Cotter), 1/8" x 3/4"

1шт.

2

492100R1

CLUTCH

rear

1шт.

3

542709R1

ARM

clutch

1шт.

180078

BOLT,Hex, 5/16" - 18 x 7/8", Gr 5

SCREW, 5/16 x 7/8 znd hex-hd cap

1шт.

120376

NUT,5/16"-18, G5

1шт.

4

488444R1

SPRING

clutch

1шт.

5

488445R1

WASHER

1-1/4 x 1-3/4 x 10 ga, 4 used between clutch spring & brg, 3 used on auger shaft

7шт.

6

488447R1

ROD

clutch

1шт.

7

475708R1

BOLT

EYEBOLT, clutch adjustable

1шт.

120169

COTTER PIN,5/32" x 1"

PIN, SPLIT (COTTER), 5/32" x 1"

1шт.

8

542710R2

HANDLE

clutch

1шт.

9

488448R1

GRIP

clutch handle

1шт.

10

487919R91

BEARING

ASSY LESS COLLAR, back auger shaft ball

4шт.

11

487920R91

COLLAR

W/SET SCREW, bearing locking

1шт.

12

565631R1

BEARING CAP,2.441" ID x 4.4375" OD x 0.34375"

bearing mounting

1шт.

17351R1

CARRIAGE BOLT,Short Sq Nk, 3/8" - 16 x 1", Gr 2

BOLT, 3/8 x 1 znd sq-nk crg

9шт.

120382

LOCK WASHER,Helical Spring, 3/8"

WASHER, LOCK, 3/8"

9шт.

120377

NUT,3/8" - 16, Gr 5

9шт.

13

487922R1

WASHER

1-1/8 x 1-5/8 x 10 ga

3шт.

14

487923R1

WASHER

1-1/8 x 1-5/8 x 12 ga

3шт.

15

487873R1

GEAR

bevel, 14T

3шт.

16

488474R1

FLANGE

bearing

2шт.

17351R1

CARRIAGE BOLT,Short Sq Nk, 3/8" - 16 x 1", Gr 2

BOLT, 3/8 x 1 znd sq-nk crg

2шт.

120382

LOCK WASHER,Helical Spring, 3/8"

WASHER, LOCK, 3/8"

2шт.

120377

NUT,3/8" - 16, Gr 5

2шт.

17

542711R1

AUGER

push

1шт.

18

629280R1

KEY,5/16" Sq x 3 1/2", Par

5/16 x 3-1/2 sq parallel

1шт.

19

13611A

KEY,5/16" Sq x 2 1/2", Par

5/16 x 2-1/2

1шт.

20

475718R2

COVER

unloader trough

1шт.

21

542712R1

DEFLECTOR, feed hopper

1шт.

22

475751R91

CLAMP

swivel

1шт.

9635884

BOLT,Hex, 5/16" - 18 1", Full Thd, Gr 5

5/16 x 1 hex-hd cap

3шт.

619855R1

WASHER

11/32 x 3/4 x 16 ga

6шт.

80681

LOCK WASHER,5/16"

WASHER, LOCK, 5/16"

3шт.

120376

NUT,5/16"-18, G5

3шт.

23

542713R1

HOPPER

first section unloading

1шт.

180124

BOLT,Hex, 3/8" - 16 x 1 1/4", Gr 5

SCREW, 3/8-16 x 1-1/4 znd hex-hd cap

4шт.

120382

LOCK WASHER,Helical Spring, 3/8"

WASHER, LOCK, 3/8"

4шт.

619856R1

WASHER

15/32 x 1 x 16 ga C-Z

8шт.

120377

NUT,3/8" - 16, Gr 5

4шт.

12686R1

CARRIAGE BOLT,Sq Nk, 1/2" - 13 x 1/2", Gr 2, Full Thd

BOLT, CARRIAGE, Short NK, 1/2"-13 x 1 1/2", G2, Full Thd

2шт.

120384

WASHER,1/2"

LOCK, 1/2"

2шт.

178374R1

WASHER

17/32 x 1-1/4 x 16 ga C-Z

2шт.

120378

NUT,Hex, 1/2" - 13, Gr 5

NUT, 1/2"-13, G5

2шт.

16888R1

HARDWARE,Short NK, 5/16"-18 x 1 1/4", G2

BOLT, 5/16 x 1-1/4 znd sq-nk crg

2шт.

180075

BOLT,Hex, 5/16" - 18 x 5/8", Gr 5

SCREW, 5/16-18 x 5/8 znd hex-hd cap

2шт.

80681

LOCK WASHER,5/16"

WASHER, LOCK, 5/16"

2шт.

120376

NUT,5/16"-18, G5

3шт.

24

488450R1

AUGER

vertical

1шт.

25

475715R1

WASHER

large spacer

1шт.

26

180122

BOLT,Hex, 3/8" - 16 x 1", Gr 5

3/8 x 1 hex-hd cap

1шт.

120382

LOCK WASHER,Helical Spring, 3/8"

WASHER, LOCK, 3/8"

1шт.

27

Q1443

KEY,5/16" Sq x 1 1/2", Par

5/16 x 1-1/2 sq parallel

2шт.

28

542714R1

PLATE, lower back hopper end

1шт.

16897R1

CARRIAGE BOLT,Short Nk, 5/16" - 18 x 3/4", Gr 2, Full Thd

BOLT, 5/16 x 3/4 znd sq-nk crg

2шт.

80681

LOCK WASHER,5/16"

WASHER, LOCK, 5/16"

2шт.

120376

NUT,5/16"-18, G5

2шт.

29

542715R1

PLATE, upper back hopper end

1шт.

88542

BOLT,Hex, 1/4"-20 x 1/2", Gr 5

SCREW, 1/4-20 x 1/2 slt-truss-hd mach

2шт.

120375

NUT,Hex, 1/4" - 20, Gr 5

2шт.

492-11025

LOCK WASHER,1/4"

WASHER, LOCK, 1/4"

2шт.

30

542716R1

SPACER

1шт.

31

475755R1

PLATE

DOOR, clean out

1шт.

97865H

WASHER

7/32 x 7/8 x 16 ga C-Z

2шт.

129-409

WING NUT,1/4"-20

NUT, WING, 1/4"-20

2шт.

32

543106R1

SPACER

6шт.

Выбрано товаров: 0