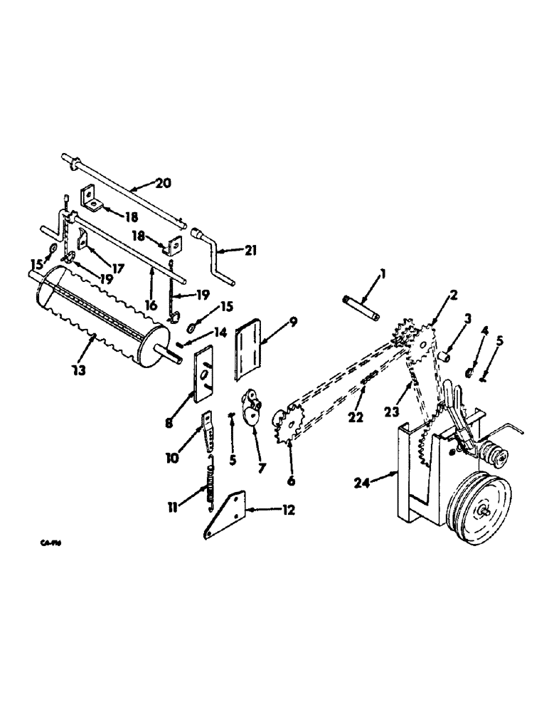
Запчасти Case IH 950 (C-41) - ROLL FEED AND CABLE HOLDUP

Схема запчастей Case IH 950 - (C-41) - ROLL FEED AND CABLE HOLDUP
FIT
1:1
100%

Артикул

Название

Примечание

Количество

1

475687R1

SHAFT

1 x 4-1/2 LH threaded

1шт.

20704R1

WASHER

1-1/32 x 1-1/2 x 11 ga C-Z

3шт.

2

475688R91

SPROCKET ASSY.

SPROCKET, 13 & 18T

1шт.

3

475689R1

BUSHING

1 x 1-1/4 x 1-1/4 brass

1шт.

4

454417R1

SNAP RING,#100, Ext

Ring, Snap, #100, Ext

1шт.

5

109461

LUBE NIPPLE,1/8"-27 x .66 lg

NIPPLE, LUBE, , PTF 1/8"-27 x .66 lg

3шт.

6

475844R1

SPROCKET ASSY.

SPROCKET, 28T

1шт.

7

475845R1

BEARING,1.072" ID

2шт.

8

475846R91

PLATE

ASSY

2шт.

80681

LOCK WASHER,5/16"

WASHER, LOCK, 5/16"

2шт.

120376

NUT,5/16"-18, G5

2шт.

472146R1

LOCK NUT,5/16"-18, GB

NUT, 5/16-18 lock

2шт.

9

475848R1

COVER

hopper

2шт.

10

485870R1

SUPPORT

HOLDER, spring top

2шт.

11

485872R1

SPRING

holdup

2шт.

12

485869R1

SUPPORT

BRACKET, spring holder upper

2шт.

9635884

BOLT,Hex, 5/16" - 18 1", Full Thd, Gr 5

5/16-18 x 1 znd hex-hd cap

4шт.

80681

LOCK WASHER,5/16"

WASHER, LOCK, 5/16"

4шт.

120376

NUT,5/16"-18, G5

4шт.

13

475847R91

HEAD

roll feed

1шт.

14

Q26

KEY,1/4" Sq x 1 1/4", Par

1/4 x 1-1/4 sq parallel

1шт.

15

486799R1

LOCK WASHER

special lock

2шт.

16

485928R1

CRANKSHAFT

W/RATCHET

1шт.

17

485867R1

SUPPORT

BRACKET, crank lock

1шт.

180077

BOLT,Hex, 5/16" - 18 x 3/4", Gr 5

SCREW, 5/16-18 x 3/4 znd hex-hd cap

1шт.

619855R1

WASHER

11/32 x 3/4 x 16 ga C-Z

1шт.

472146R1

LOCK NUT,5/16"-18, GB

NUT, 5/16-18 C-Z lock

1шт.

18

485868R1

BRACKET, crank support

2шт.

19

485871R1

CABLE

roll feed adjusting

2шт.

20

485929R1

SHAFT ASSY, for crank, note

1шт.

608701R1

WASHER

5/8 x 1-5/16 x 16 ga C-Z

4шт.

120169

COTTER PIN,5/32" x 1"

PIN, SPLIT (COTTER), 5/32" x 1"

2шт.

21

485874R1

HANDLE, crank, note

1шт.

22

CHAIN, roll feed upper, use 21 links from a 10 ft roll marked, 569089R91, 1 connecting link, 582372R91 and 2 offset links, 456929R91

1шт.

23

CHAIN, roll feed lower, use 53 links from a 10 ft roll marked, 1790D, 1 connecting link 1301D and 1 offset link, 1303D

1шт.

24

AUGER FEED DRIVE UNIT, for components, see list of parts under details of swinging auger feed drive lower

1шт.

Выбрано товаров: 0