Запчасти Case IH 950 (C-04) - SWIVEL TYPE JACK, 950 SERIAL NOS. 2591 TO 3991, 1150 SERIAL NO. 7920 TO 14308

Схема запчастей Case IH 950 - (C-04) - SWIVEL TYPE JACK, 950 SERIAL NOS. 2591 TO 3991, 1150 SERIAL NO. 7920 TO 14308
FIT
1:1
100%

Артикул

Название

Примечание

Количество

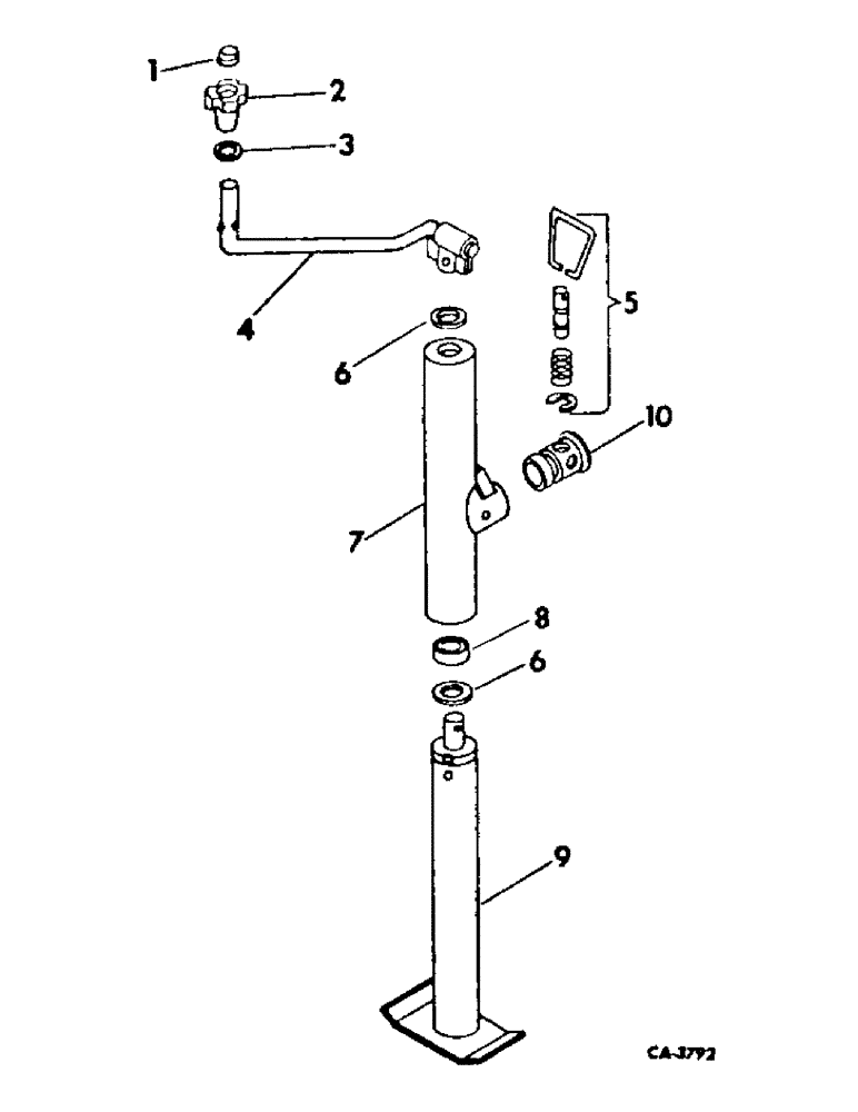
60361C91

JACK

ASSY, swivel type

1шт.

1

59100C1

CAP, handle

1шт.

2

59101C1

KNOB, handle

1шт.

3

20869R1

WASHER

handle, replaces 59102C1

1шт.

4

60362C1

HANDLE

1шт.

5

60363C1

PIN

ASSY, lock

1шт.

6

607895R1

WASHER

.531 x 1 x .105 zn

2шт.

7

60364C1

TUBE, outer 14" Length

1шт.

180014

SCREW,Hex, 1/4" - 20 x 3/8", Gr 5, Full Thd

1/4-20 x 3/8 znd hex-hd cap

1шт.

492-11025

LOCK WASHER,1/4"

WASHER, LOCK, 1/4"

1шт.

8

60366C91

THRUST BEARING

thrust

1шт.

86505867

BOLT,Hex, 1/4" - 20 x 1", Gr 5

1шт.

86625061

NUT,1/4"-20, GB

NUT, 1/4-20 nylon insert lock

1шт.

9

60365C1

TUBE, inner

1шт.

10

60445C1

TUBE, mounting

1шт.

Выбрано товаров: 0