Запчасти Case IH 725 (D-10) - ELEVATOR

Схема запчастей Case IH 725 - (D-10) - ELEVATOR
FIT
1:1
100%

Артикул

Название

Примечание

Количество

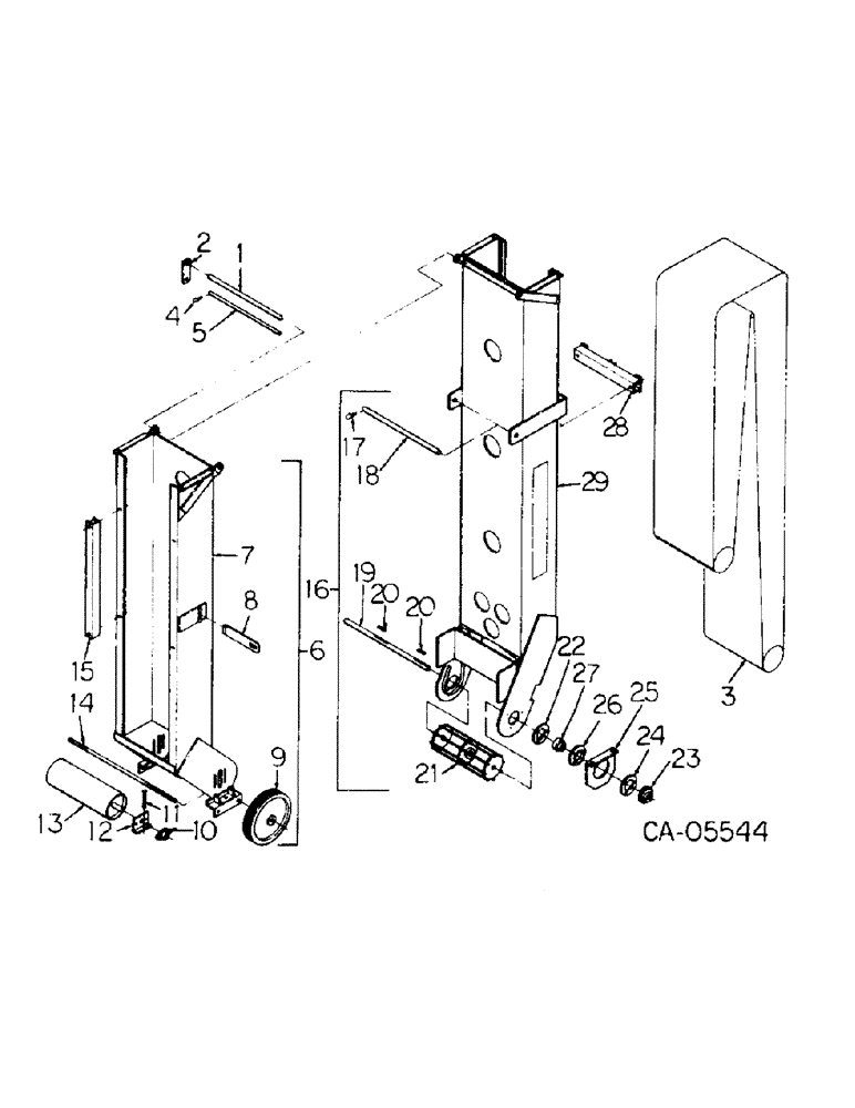
72741C91

ELEVATOR ASSY, consists of the following parts

1шт.

1

72757C1

ROD, hinge

1шт.

2

72755C1

BAR

2шт.

3

72758C1

BELT CONVEYOR 18.00 mm W x 399.00 mm L 18.00 mm W x 399.00 mm L

1шт.

4

586591R1

COTTER PIN

PIN, q.a. cot

2шт.

5

72756C1

ROD

1шт.

6

72742C91

ELEVATOR ASSY, upper

1шт.

7

72747C1

ELEVATOR, weld

1шт.

8

72746C1

SUPPORT

2шт.

9

64308C1

WHEEL ASSY

2шт.

10

64326C91

BEARING W/FLANGE

2шт.

11

56061C1

BOLT, adj

2шт.

12

72745C1

SUPPORT, bearing

2шт.

13

72744C1

ROLLER

1шт.

14

72743C1

AXLE

1шт.

15

64291C1

CHANNEL

2шт.

16

72748C91

ELEVATOR ASSY, upper

1шт.

17

407208R1

PACKAGE

PIN, clip, consists of box w/14 pins

2шт.

18

72749C1

PIPE

1шт.

19

64301C1

SHAFT, elevator drive

1шт.

20

Q53

KEY,1/4" Sq x 1", Par

2шт.

21

72752C1

PULLEY

1шт.

22

470746R1

FLANGE

bearing

2шт.

23

72754C1

SPROCKET, 17T

1шт.

24

64299C1

RETAINER

2шт.

25

72753C1

SUPPORT

2шт.

26

470745R91

FLANGED BEARING

FLANGE, bearing

2шт.

27

470743R91

BALL BEARING,1.2505" ID x 62 mm OD x 1.4375"

2шт.

557995R11

COLLAR

locking

2шт.

28

72750C1

SUPPORT, channel

1шт.

29

72751C1

ELEVATOR

1шт.

72759C91

KIT, lacing, consists of

1шт.

64304C1

KIT, splicing

1шт.

72761C1

PIN, belt connecting

1шт.

Выбрано товаров: 34