Запчасти Case IH 725 (D-27) - DRIVE WHEEL

Схема запчастей Case IH 725 - (D-27) - DRIVE WHEEL
FIT
1:1
100%

Артикул

Название

Примечание

Количество

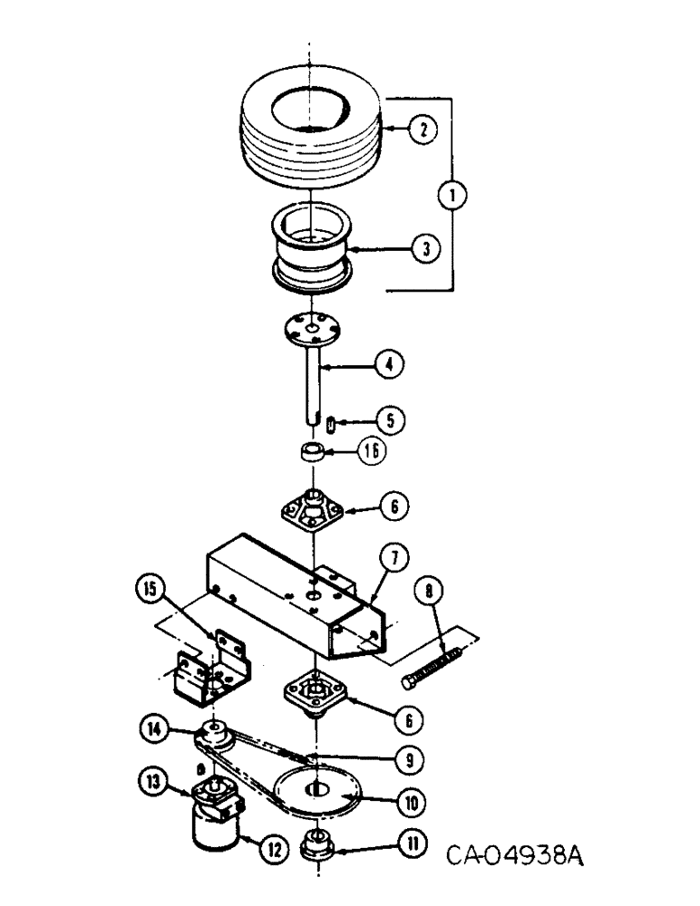
1

64354C1

WHEEL ASSY, w/tire & valve

1шт.

2

NOT SERVICED SEPARATELY, order wheel assy 64354C1

1шт.

3

NOT SERVICED SEPARATELY, order wheel assy 64354C1

1шт.

4

63998C1

SHAFT, wheel

1шт.

5

Q55

KEY,3/8" Sq x 2", Par

3/8 x 3/8 x 2 sq

1шт.

6

958731R91

BEARING, flange

2шт.

7

63999C1

SUPPORT, motor, serial no. 0800001U000106 and below

1шт.

7

72731C1

SUPPORT, motor, serial no. 0800005U000101 and above

1шт.

8

64357C1

BOLT, adjusting

1шт.

9

CHAIN, roller, use 86 links from a 100 ft roll marked 1740D & 1 conn link 1310D

1шт.

10

64000C1

SPROCKET

1шт.

11

64001C1

BUSHING

1шт.

12

64002C91

MOTOR, hydraulic

1шт.

13

124553

WOODRUFF KEY,#15, 1/4" x 1", HT

15шт.

14

175697C1

SPROCKET, serial no. 0800001U000106 and below

1шт.

174

72732C1

SPROCKET, serial no. 0800005U000101 and above

1шт.

15

64003C1

SUPPORT, hyd motor

1шт.

16

73160C1

SPACER, serial no. 0800005U000101 and above

1шт.

Выбрано товаров: 18