Запчасти Case IH 750 (E-18) - HYDRAULICS

Схема запчастей Case IH 750 - (E-18) - HYDRAULICS
FIT
1:1
100%

Артикул

Название

Примечание

Количество

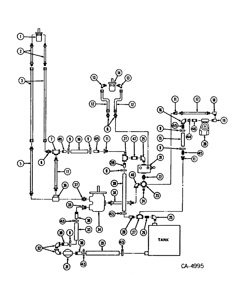
1

64319C1

MOTOR, orbit

1шт.

2

64353C1

HOSE ASSY

2шт.

3

64230C1

TUBE, hydraulic

2шт.

4

NOT SERVICED SEPARATELY

1шт.

5

64331C1

HOSE, 24 in.

1шт.

6

9402710

HYD CONNECTOR,7/8"-14, 37 Degree x 1/2"-14, NPTF

CONNECTOR, 5/8 37 deg flared tube

3шт.

7

138105

TEE,1/2" NPT, Fem

1/2 pipe

1шт.

8

192075

NIPPLE

6шт.

9

995219R1

CLIP

CLAMP, hose

6шт.

10

HOSE, use 24 in. from a 50 ft. roll marked, 526603R1

1шт.

11

217-45

REDUCER,3/4" - 14 NPTF x 1/2" - 18 Fem NPTF

bushing 3/4"-14 NPTF x 1/2"-18 Fem NPTF

3шт.

12

64231C1

TUBE 0.625" OD, 7.5" Length

2шт.

13

9410978

ELBOW,90 Degree, 7/8"-14, 37 Degree x 7/8"-14, O-Ring

CONNECTOR, 7/8-14 C-Z 37 deg hyd flared tube adj str-thd 90 deg

2шт.

14

64002C91

MOTOR ASSY, hyd

1шт.

15

HOSE, 5 in., use 5 in. from a 50 ft. roll marked, 526603R1

1шт.

16

119090

ELBOW

1шт.

17

366312R91

HOSE

ASSY

2шт.

18

64232C1

ELBOW

3шт.

19

64233C1

ELBOW

1шт.

20

63933C91

GOVERNOR ASSY

1шт.

21

64208C91

VALVE ASSY, hyd

1шт.

549675R1

GRIP

1шт.

12487R1

NIPPLE, 3/8 closed

1шт.

64214C1

PAD, brake

1шт.

64215C1

EXTENSION

1шт.

22

190717

PIPE,Nipple, 3/4" NPT x 2"

NIPPLE, 3/4 closed

1шт.

23

64234C1

CROSS, 3/4 stl

1шт.

24

444636

PLUG,Hex Hd, 3/4"-14

3/4 pipe

1шт.

25

141621

ELBOW,90 Degree, 3/4" NPT Street

3/4 NPT 90 deg str

1шт.

26

192470

PIPE,Nipple, 3/4" NPT x 1 3/8"

NIPPLE, 1-3/8 C-Z 3/4 taper pipe thd

1шт.

27

125988

TEE,3/4" NPT, Fem

3/4 pipe

2шт.

28

64091C1

PIPE

2шт.

29

64574C1

HOSE, 14 in.

1шт.

30

64235C1

FITTING

3шт.

31

64345C91

FILTER ASSY, oil

1шт.

32

111001

ELBOW UNION,90 Degree, 1 1/4" NPT Street

ELBOW, 1-1/4 90 deg str

2шт.

33

64344C1

HOSE, 6 in.

1шт.

34

64174C91

PUMP ASSY, hyd

1шт.

35

179400

ADAPTER,1 1/2" NPT Male x 1" NPT Fem

BUSHING

1шт.

36

64237C1

VALVE, relief

1шт.

37

443982

FITTING,1/2"-14 NPTF, Brass

NIPPLE, 1/2-14 auto pipe

1шт.

38

105041H1

HOSE, 12 in. 1 in. ID

1шт.

39

HOSE, 33 in., use 33 in. from a 50 ft. roll marked, 490960R1

1шт.

40

64238C1

ELBOW

1шт.

41

NOT SERVICED SEPARATELY

1шт.

42

64378C1

NIPPLE

1шт.

43

995221R1

CLAMP

hose

4шт.

44

175778H1

ADAPTER

BUSHING, 1/2 x 3/8

1шт.

45

64239C1

FITTING

4шт.

46

64500C1

NIPPLE

1шт.

Выбрано товаров: 50