Запчасти Case IH 1550 (B-25) - 9402788 TRACTOR TO LOADER VALVE HYDRAULIC SYSTEM

Схема запчастей Case IH 1550 - (B-25) - 9402788 TRACTOR TO LOADER VALVE HYDRAULIC SYSTEM
FIT
1:1
100%

Артикул

Название

Примечание

Количество

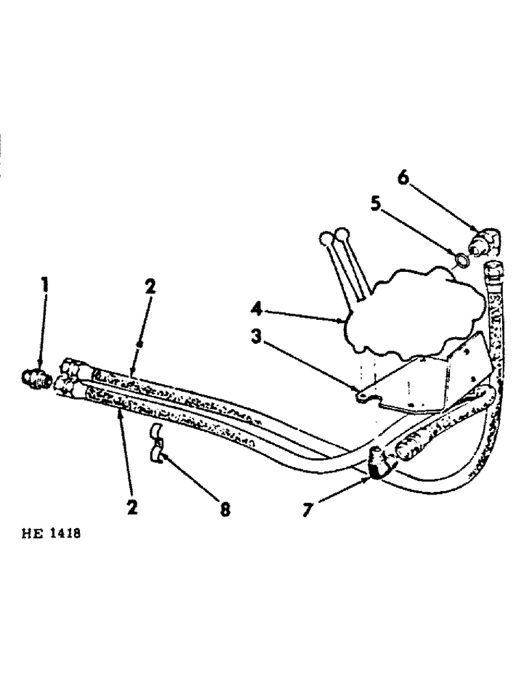
1

9402788

UNION,7/8"-14, 37 Degree x 7/8"-14, 37 Degree

7/8" hyd control valve hose to tractor return tube

1шт.

2

851625

HOSE, tractor to control valve hyd

2шт.

3

851621C1

SUPPORT

hyd control valve

1шт.

9635884

BOLT,Hex, 5/16" - 18 1", Full Thd, Gr 5

5/16 x 1"

2шт.

120376

NUT,5/16"-18, G5

2шт.

80681

LOCK WASHER,5/16"

WASHER, LOCK, 5/16"

2шт.

4

851629C1

VALVE, hyd control (for component parts of this assembly, refer to "hydraulic control valve" in section "C" of this catalog)

1шт.

180132

BOLT,Hex, 3/8" - 16 x 2 1/4", Gr 5

3/8 x 2-1/4"

3шт.

120377

NUT,3/8" - 16, Gr 5

3шт.

120382

LOCK WASHER,Helical Spring, 3/8"

WASHER, LOCK, 3/8"

3шт.

5

364885R1

O-RING,0.097" Thk x 0.755" ID, -910, Cl 6, 90 Duro

valve inlet port elbow

1шт.

6

9410978

ELBOW,90 Degree, 7/8"-14, 37 Degree x 7/8"-14, O-Ring

7/8" - 90deg. hyd control valve inlet port

1шт.

7

9402866

ELBOW,90 Degree, 7/8"-14, 37 Degree x 1/2"-14, NPTF

7/8" - 90deg. hyd control valve return line outlet port

1шт.

8

379045R1

CLAMP

hyd hose dual

1шт.

180042

BOLT,Hex, 1/4" - 20 x 1 3/4", Gr 5

BOLT, 1/4 x 1-3/4"

1шт.

Выбрано товаров: 0