Запчасти Case IH 1550 (B-07) - PARKING STAND ATTACHMENT

Схема запчастей Case IH 1550 - (B-07) - PARKING STAND ATTACHMENT
FIT
1:1
100%

Артикул

Название

Примечание

Количество

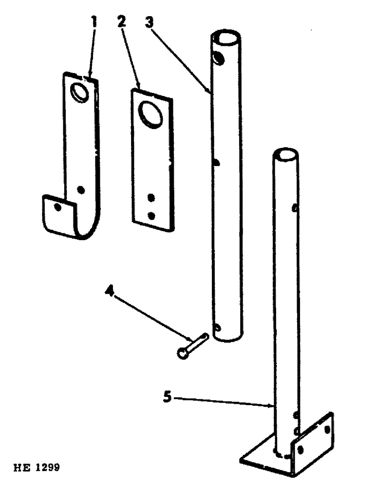
1

851637C1

SUPPORT

hyd lift cyl lock (use for retaining hyd cyl when loader is disconnected)

2шт.

Q595

PIN,3/8" x 3 1/4"

3/8 x 3-1/4" std-hd-dld

2шт.

610784R1

SPLIT PIN/SAFETY PIN,2.4mm OD x 60.345mm OAL

C-PIN, quick-attachable

2шт.

2

851518C1

BAR

stand brace

2шт.

597078R1

PIN

3/8 x 2-1/4" std-hd-dld special

2шт.

610784R1

SPLIT PIN/SAFETY PIN,2.4mm OD x 60.345mm OAL

C-PIN, quick-attachable

2шт.

3

851599C1

PIPE

stand extenson

2шт.

22980R1

HEADED PIN,3/4" x 4 1/2"

PIN, 3/4 x 4-1/2" std-hd-dld

2шт.

217973

COTTER PIN,1/4" x 1 1/4"

Pin, Split (Cotter), 1/4" x 1-1/4"

2шт.

4

597078R1

PIN

3/8 x 2-1/4" std-hd-dld special

4шт.

610784R1

SPLIT PIN/SAFETY PIN,2.4mm OD x 60.345mm OAL

C-PIN, quick-attachable

4шт.

5

851595C1

STAND

boom parking

2шт.

850680C1

SELF-TAP SCREW,Hex Wash Hd, 3/8"-16 x 7/8"

SCREW, 3/8 x 7/8" washer-hd self-tapping

2шт.

120382

LOCK WASHER,Helical Spring, 3/8"

WASHER, LOCK, 3/8"

2шт.

597078R1

PIN

3/8 x 2-1/4" std-hd-dld special

2шт.

610784R1

SPLIT PIN/SAFETY PIN,2.4mm OD x 60.345mm OAL

C-PIN, quick-attachable

2шт.

Выбрано товаров: 16