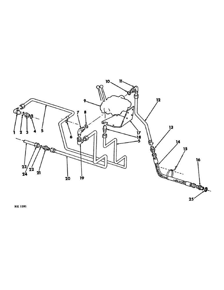
Запчасти Case IH 1850 (C-32) - TRACTOR TO LOADER VALVE HYDRAULIC SYSTEM

Схема запчастей Case IH 1850 - (C-32) - TRACTOR TO LOADER VALVE HYDRAULIC SYSTEM
FIT
1:1
100%

Артикул

Название

Примечание

Количество

1

9410977

ELBOW,90 Degree, 3/4"-16, 37 Degree x 3/4"-16, O-Ring

3/4" - 90 deg. tractor drain and return tube

1шт.

570828R1

O-RING,0.087" Thk x 0.644" ID, -908, Cl 6, 90 Duro

return tube drain elbow

1шт.

2

570828R1

O-RING,0.087" Thk x 0.644" ID, -908, Cl 6, 90 Duro

tractor drain elbow

1шт.

3

851530C1

ADAPTER

ADAPTOR, tractor drain hole

1шт.

933608R1

SEALING RING,M26 x 31 x 2

WASHER, SEALING, , Drain hole adaptor M26 x 31 x 2

1шт.

4

933608R1

SEALING RING,M26 x 31 x 2

WASHER, SEALING, , Adaptor packing M26 x 31 x 2

1шт.

5

851516C11

TUBE,.5" OD

valve outlet to tractor drain return

1шт.

6

213932H1

CLAMP

tractor hitch cyl cap

1шт.

7

9410978

ELBOW,90 Degree, 7/8"-14, 37 Degree x 7/8"-14, O-Ring

7/8" - 90deg. control valve power beyond port

1шт.

364885R1

O-RING,0.097" Thk x 0.755" ID, -910, Cl 6, 90 Duro

power beyond port elbow

1шт.

8

364885R1

O-RING,0.097" Thk x 0.755" ID, -910, Cl 6, 90 Duro

power beyond port elbow

1шт.

9

851629C91

VALVE

loader mounted hyd control (for component parts of this assembly, refer to "hydraulic control valve" in section "C" of this catalog)

1шт.

180132

BOLT,Hex, 3/8" - 16 x 2 1/4", Gr 5

3/8 x 2-1/4"

3шт.

120377

NUT,3/8" - 16, Gr 5

3шт.

120382

LOCK WASHER,Helical Spring, 3/8"

WASHER, LOCK, 3/8"

3шт.

10

364885R1

O-RING,0.097" Thk x 0.755" ID, -910, Cl 6, 90 Duro

valve inlet elbow

1шт.

11

9410978

ELBOW,90 Degree, 7/8"-14, 37 Degree x 7/8"-14, O-Ring

7/8" - 90deg. valve inlet

1шт.

364885R1

O-RING,0.097" Thk x 0.755" ID, -910, Cl 6, 90 Duro

valve inlet elbow

1шт.

12

851487C11

HYD TUBE,15.88 mm OD x 18 mm L

TUBE, pressure valve inlet

1шт.

13

851479C1

CONNECTOR, ELEC

CONNECTOR, pressure hose to inlet tube

1шт.

14

3058711R92

HOSE

tractor hyd pump pressure

1шт.

15

816502C1

STRAP

pressure hose tie

1шт.

16

3058415R1

UNION

CONNECTOR, pressure hose to hyd pump filter (for use on 624 tractors w/serial no. 819219 and since) (for use on 724 tractor w/serial no. 2368 & since)

1шт.

17

851535C1

BRACKET

valve support

1шт.

180122

BOLT,Hex, 3/8" - 16 x 1", Gr 5

3/8 x 1"

4шт.

120377

NUT,3/8" - 16, Gr 5

4шт.

120382

LOCK WASHER,Helical Spring, 3/8"

WASHER, LOCK, 3/8"

4шт.

18

255678C1

HYD CONNECTOR,3/4"-16, 37 Degree x 1/2"-14, NPTF

CONNECTOR, 3/4" to 1/2" valve return part reducer

1шт.

19

9410282

ELBOW,90 Degree, 7/8"-14, 37 Degree x 7/8"-14, 37 Degree Fem Sw

7/8" - 90deg. swivel power beyond port elbow

1шт.

20

851470C11

TUBE,15.88 mm OD x 18 mm L

power beyond port to tractor hitch pressure tube

1шт.

21

851479C1

CONNECTOR, ELEC

CONNECTOR, power beyond tube to tractor hitch pressure tube

1шт.

22

851504C1

FERRULE

tractor hitch pressure tube

1шт.

23

TUBE, tractor hitch pressure (to make this tube, order 1-3131035R91, tube and refer to setting-up instructions for re-work diagram)

1шт.

24

3058477R1

NUT

tractor hitch hyd pressure

1шт.

25

3051337R1

SEALING RING,M18 x 24mm OD x 1.5mm Thk

Hyd pump oil filter packing M18 x 24 x 1.5

1шт.

Выбрано товаров: 35