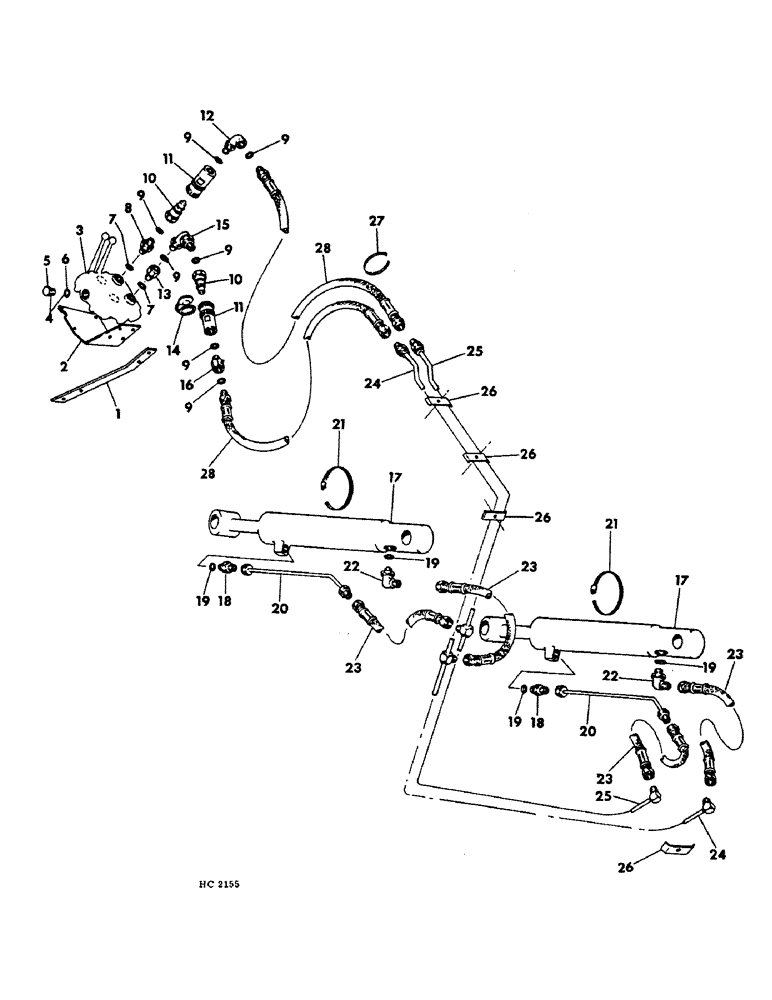
Запчасти Case IH 2250 (E-20) - BOOM HYDRAULICS, LOADER VALVE TO BOOM CYLINDERS Invalid section

Схема запчастей Case IH 2250 - (E-20) - BOOM HYDRAULICS, LOADER VALVE TO BOOM CYLINDERS Invalid section
FIT
1:1
100%

Артикул

Название

Примечание

Количество

1

851941C1

SUPPORT

valve mounting

1шт.

180124

BOLT,Hex, 3/8" - 16 x 1 1/4", Gr 5

3/8-16 x 1-1/4 hex-HD

2шт.

120377

NUT,3/8" - 16, Gr 5

2шт.

120382

LOCK WASHER,Helical Spring, 3/8"

WASHER, LOCK, 3/8"

2шт.

2

851621C1

SUPPORT

valve

1шт.

180081

BOLT,Hex, 5/16"-18 x 1 1/4", G5

2шт.

120376

NUT,5/16"-18, G5

2шт.

80681

LOCK WASHER,5/16"

WASHER, LOCK, 5/16"

2шт.

3

851629C91

VALVE

ASSY, hydraulic control (for service parts refer to hydraulic control valve)

1шт.

180132

BOLT,Hex, 3/8" - 16 x 2 1/4", Gr 5

3/8-16 x 2-1/4 hex-HD

3шт.

120377

NUT,3/8" - 16, Gr 5

3шт.

120382

LOCK WASHER,Helical Spring, 3/8"

WASHER, LOCK, 3/8"

3шт.

4

851636C91

KIT

conversion plug consists of (1) plug (NSS), (1) seal 850249C1

1шт.

5

PLUG, conversion (for service order 1-851636C91 kit)

1шт.

6

850249C1

SEAL

conversion plug

1шт.

7

570828R1

O-RING,0.087" Thk x 0.644" ID, -908, Cl 6, 90 Duro

2шт.

8

384539R1

HYD CONNECTOR,7/8"-14, 37 Degree x 3/4"-16, O-Ring

CONNECTOR, 7/8-14 to 3/4-16 hyd 37deg. flared tube short reducer

1шт.

9

364885R1

O-RING,0.097" Thk x 0.755" ID, -910, Cl 6, 90 Duro

7шт.

10

395149R1

QUICK MALE COUPLING

COUPLER ASSY, self-sealing male

2шт.

11

395150R91

COUPLING, QUICK, FEM

COUPLER ASSY, self-sealing female

2шт.

12

371357R91

ELBOW

7/8-14 adj str thrd 90 deg. w/nut and back-up washer

1шт.

13

372852R1

ADAPTER

UNION, 7/8-14 str thrd female to 3/4-16 str thrd male reducer

1шт.

14

373220R1

PLUG

CAP, dust

2шт.

15

476940R1

ELBOW

7/8-14 adj str thrd 90 deg. union w/nuts and back-up washer

1шт.

16

851594C91

CHECK VALVE

RESTRICTOR ASSY, flow

1шт.

17

851880C91

CYLINDER

ASSY, boom (for service parts refer to boom lift hydraulic cylinder)

2шт.

332040

LUBE NIPPLE,90 Degree, 1/8" NPT x .84" lg

FITTING, 1/8-27

4шт.

18

9410203

HYD CONNECTOR,3/4"-16, 37 Degree x 3/4"-16, O-Ring

CONNECTOR, 3/4-16 hyd 37 deg. flared tube short swivel

2шт.

19

570828R1

O-RING,0.087" Thk x 0.644" ID, -908, Cl 6, 90 Duro

hydraulic cylinder

4шт.

20

851933C1

HYD TUBE,12.70 mm OD x 26.7, 6.5 mm L

TUBE ASSY, boom cylinder

2шт.

21

279029R91

HOSE CLAMP,#48, 2.56/3.50 Type F Worm

CLAMP, tube

2шт.

22

9410977

ELBOW,90 Degree, 3/4"-16, 37 Degree x 3/4"-16, O-Ring

3/4-16 hyd 37 deg. flared tube adj str thrd 90deg. w/nut and back-up washer

2шт.

23

851789C1

HOSE

boom cylinder

4шт.

24

851931C1

TUBE

ASSY, boom raise

1шт.

25

851932C1

TUBE

ASSY, boom lower

1шт.

26

851448C1

CLAMP

hydraulic tube

4шт.

851942C1

SELF-TAP SCREW,Hex Wash Hd, 5/16"-18 x 1 1/4"

SCREW, 5/16-18 x 1-1/4 hex washer-HD self-tapping

4шт.

619856R1

WASHER

.406 x 1.000 x .056

4шт.

27

816502C1

STRAP

hydraulic hose tie

1шт.

HOSE ASSY, 1/2 I.D. x 95" length recommended hydraulic (for service on I-454, I-464, I-474, I-574 and I-674 tractors using external loader valve for loader control order SAE 100 R2 wire braid hose w/3/4-16 J.I.C. female swivel at one end and 7/8-14 male fixed o-ring boss at opposite end)

1шт.

Выбрано товаров: 40