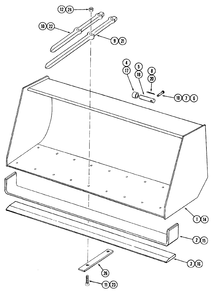
Запчасти Case IH 2255 (9-20) - HEAVY DUTY MATERIAL BUCKET, 84 INCH (09) - CHASSIS/ATTACHMENTS

Схема запчастей Case IH 2255 - (9-20) - HEAVY DUTY MATERIAL BUCKET, 84 INCH (09) - CHASSIS/ATTACHMENTS
22
11
9
26
18
16
3
19
8
17
12
4
23
15
24
2
10
14
6
21
20
1
7
5
FIT
1:1
100%

Артикул

Название

Примечание

Количество

1

NSS

NOT SOLD SEPARAT

BUCKET ASSEMBLY, material, heavy duty, 84 inch (Machinery Item) 1, Includes Ref. 2 and 3

1шт.

2

851806C1

BLADE

EDGE cutting, 84 inch (If Equipped)

1шт.

3

1985302C2

BLADE

EDGE cutting, 3/4 x 4 x 85-1/2 inch (If Equipped)

1шт.

4

162510C1

SPACER,1 3/8" Tube x 7/8"

1-1/8 ID x 7/8 inch long

4шт.

5

1329594C1

PIN,28.57mm OD x 195mm L

pivot

4шт.

6

439-5530

HEADED PIN,5/16" x 1 7/8"

5/16 x 1-7/8 inch (If Equipped)

2шт.

7

439-5532

HEADED PIN,5/16" x 2"

headed, 5/16 x 2 inch

4шт.

8

432-812

COTTER PIN,3/4" OAL x 1/8" W

4шт.

852925C91

TINE SET material bucket 84 inch, Includes Ref. 9 - 12

1шт.

9

851817C1

TINE

inner inner, for 84 inch material bucket

8шт.

10

851818C1

TINE

outer outer, for 84 inch material bucket

2шт.

11

419-2840

PLOW BOLT,#3, 1/2" - 13 x 2 1/2", Gr 5

1/2 NC x 2-1/2 inch, tines for 84 inch material bucket

20шт.

12

425-108

NUT,1/2" - 13, Gr 5

Tines for 84 inch material bucket

20шт.

1540006C1

ATTACHMENT bucket material, heavy duty 72 inch, Includes Ref. 14 - 20

1шт.

14

NSS

NOT SOLD SEPARAT

BUCKET ASSEMBLY, material, heavy duty 72 inch (Machinery Item) 1, Includes Ref. 15 and 16

1шт.

15

1263729C1

BLADE

EDGE cutting 72 inch, heavy duty material bucket

1шт.

16

1985301C2

BLADE

EDGE cutting 3/4 x 4 x 73-1/2 inch, heavy duty material bucket 72 inch

1шт.

17

162510C1

SPACER,1 3/8" Tube x 7/8"

1-1/8 ID x 7/8 inch long, heavy duty material bucket 72 inch

4шт.

18

1329594C1

PIN,28.57mm OD x 195mm L

pivot, heavy duty material bucket 72 inch

4шт.

19

439-5532

HEADED PIN,5/16" x 2"

headed, 5/16 x 2 inch, heavy duty material bucket 72 inch

4шт.

20

432-812

COTTER PIN,3/4" OAL x 1/8" W

Heavy duty material bucket 72 inch

4шт.

81006C91

SET tine, general purpose bucket 72 inch, Includes Ref. 21 - 26

1шт.

21

851817C1

TINE

inner, for 72 inch material bucket

8шт.

22

851818C1

TINE

outer, for 72 inch material bucket

2шт.

23

419-2840

PLOW BOLT,#3, 1/2" - 13 x 2 1/2", Gr 5

1/2 NC x 2-1/2 inch, tines for 72 inch material bucket

20шт.

24

425-108

NUT,1/2" - 13, Gr 5

Tines for 72 inch material bucket

20шт.

26

91331C1

BAR

wear bucket, tines for 72 inch material bucket

6шт.

Выбрано товаров: 27