Запчасти Case IH 510 (9-04) - SUBFRAME (09) - CHASSIS/ATTACHMENTS

Схема запчастей Case IH 510 - (9-04) - SUBFRAME (09) - CHASSIS/ATTACHMENTS
FIT
1:1
100%

Артикул

Название

Примечание

Количество

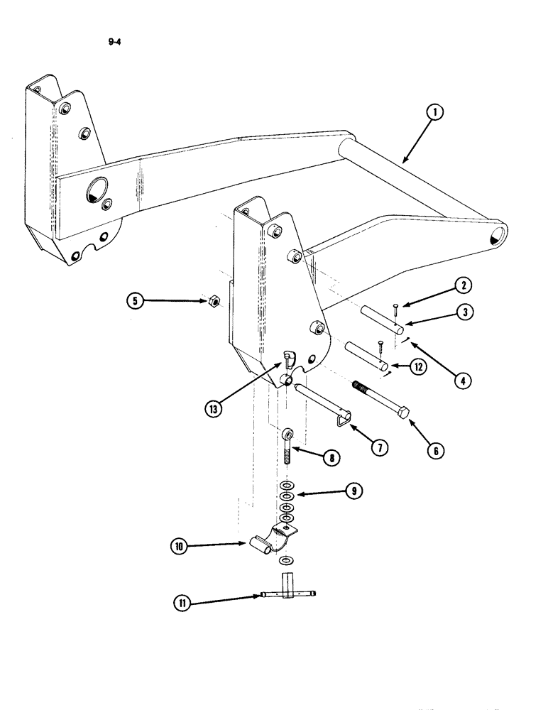
1

1985023C1

FRAME

ASSEMBLY

1шт.

2

141-59

CLEVIS PIN,3/8" x 2 1/4"

PIN - clevis, 3/8 x 2-1/4 inch

6шт.

3

1978811C1

PIN

- 1-5/16 x 7-1/4 inch

2шт.

4

119117

COTTER PIN,3/32" x 1/2"

PIN - COTTER, 3/32 x 1/2 inch

6шт.

5

231-41112

LOCK NUT,3/4"-10, GB

NUT - hex lock, 3/4 inch NC

2шт.

6

413-12104

BOLT,Hex, 3/4" - 10 x 6-1/2", Gr 5

- hex, 3/4 NC x 6-1/2 inch

2шт.

7

1973017C1

PIN ASSY.

PIN - quick attach, 3/4 x 6-3/4 inch

2шт.

8

1973005C1

EYEBOLT

- clamp adjusting

2шт.

9

195-545

WASHER,3/4", SAE

- flat, 13/16 x 1-15/32 x 1/8 inch

10шт.

10

1973019C1

CLAMP

- retaining

2шт.

11

1343215C1

SPECIAL NUT

NUT - assembly

2шт.

12

1985033C1

PIN,33.34mm OD x 205mm L

- 1-5/16 x 8 inch

2шт.

13

1985043C1

RING, SNAP

PIN - snap

2шт.

Выбрано товаров: 13