Запчасти Case IH 520 (9-04) - SUBFRAME (09) - CHASSIS/ATTACHMENTS

Схема запчастей Case IH 520 - (9-04) - SUBFRAME (09) - CHASSIS/ATTACHMENTS
FIT
1:1
100%

Артикул

Название

Примечание

Количество

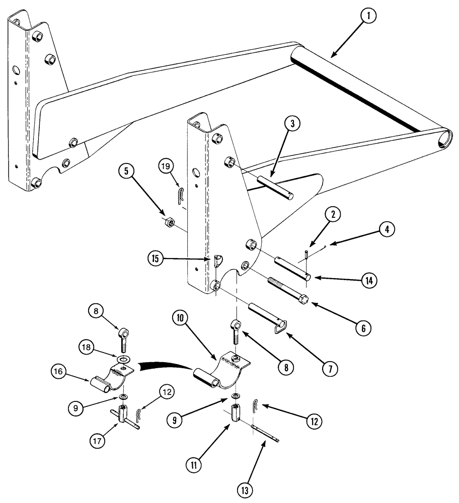
1

195606A1

FRAME

sub, includes decals, see Figure 9-24, Ref. 2 and 3

1шт.

2

427-6225

CLEVIS PIN,3/8" x 2 1/4"

hardened, 3/8 x 2-1/4 inch

4шт.

3

105056A1

PIN,33.34mm OD x 187mm L

1-5/16 x 7-1/4 inch

2шт.

4

432-612

COTTER PIN,3/32" x 3/4"

4шт.

5

231-41112

LOCK NUT,3/4"-10, GB

2шт.

6

413-12104

BOLT,Hex, 3/4" - 10 x 6-1/2", Gr 5

hex, 3/4 NC x 6-1/2 inch

2шт.

7

1973017C1

PIN ASSY.

quick attach, 3/4 x 6-3/4 inch

2шт.

8

1973005C1

EYEBOLT

BOLT, EYE clamp adjusting

2шт.

9

495-11081

WASHER,3/4", SAE

2шт.

10

105071A1

CLAMP

retaining, if used

2шт.

11

105069A1

SPECIAL NUT

special, if used

2шт.

12

1978737C1

COTTER PIN,Int, 1/8" x 49mm

hair (2-4)

2шт.

13

105070A1

ROD

handle, if used

2шт.

14

1985033C1

PIN,33.34mm OD x 205mm L

1-5/16 x 8 inch

2шт.

15

1985043C1

RING, SNAP

RING SNAP PIN

2шт.

16

1973019C2

CLAMP

retaining, if used

2шт.

17

1343215C1

SPECIAL NUT

special, if used

2шт.

18

496-31081

WASHER,13/16" x 1 1/2" x .219", HDN

flat, hardened, 13/16 x 1-1/2 x 7/32 inch, if used

6шт.

19

1978738C1

HAIR PIN COTTER

1шт.

Выбрано товаров: 19