Запчасти Case IH 5QA (8-26) - SINGLE LEVER CONTROL (08) - HYDRAULICS

Схема запчастей Case IH 5QA - (8-26) - SINGLE LEVER CONTROL (08) - HYDRAULICS
FIT
1:1
100%

Артикул

Название

Примечание

Количество

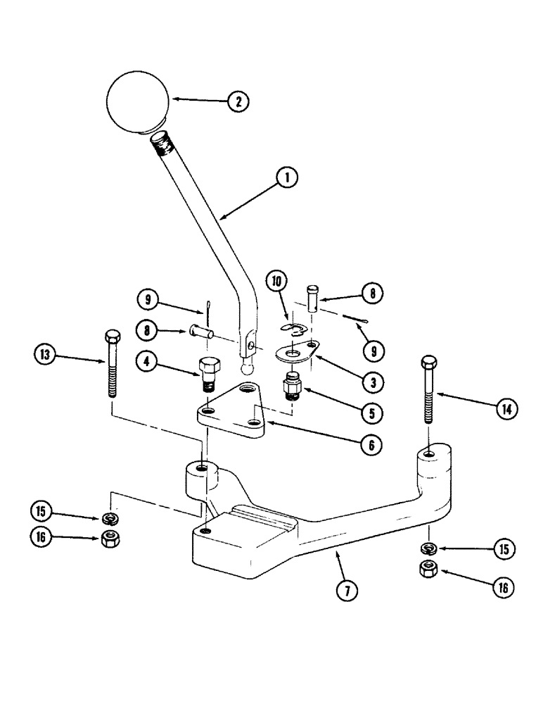
1337254C1

KIT lever, single control (Machinery item), Includes: Ref. 1 - 16

1шт.

1

1960677C1

HANDLE

LEVER ASSEMBLY single control, Includes: Ref. 2

1шт.

2

A23885

KNOB

lever, ball

1шт.

3

1958483C1

LINK

pivot

1шт.

4

1960679C1

SCREW

hex shoulder

1шт.

5

1960678C1

PIVOT

control

1шт.

6

1960675C1

PLATE

pivot

1шт.

7

1958486C1

PLATE

spacer

1шт.

8

22906R1

HEADED PIN,1/4" x 3/4"

2шт.

9

432-612

COTTER PIN,3/32" x 3/4"

2шт.

10

1960669C1

RING

retaining, external

1шт.

13

113-53

BOLT,Hex, 1/4" - 20 x 3-1/4", Gr 5

1шт.

14

413-448

BOLT,Hex, 1/4" - 20 x 3", Gr 5

hex, 1/4 NC x 3 inch

1шт.

15

492-11025

LOCK WASHER,1/4"

2шт.

16

7770

NUT,Hex, 1/4 - 20, Cl 5

2шт.

Выбрано товаров: 15