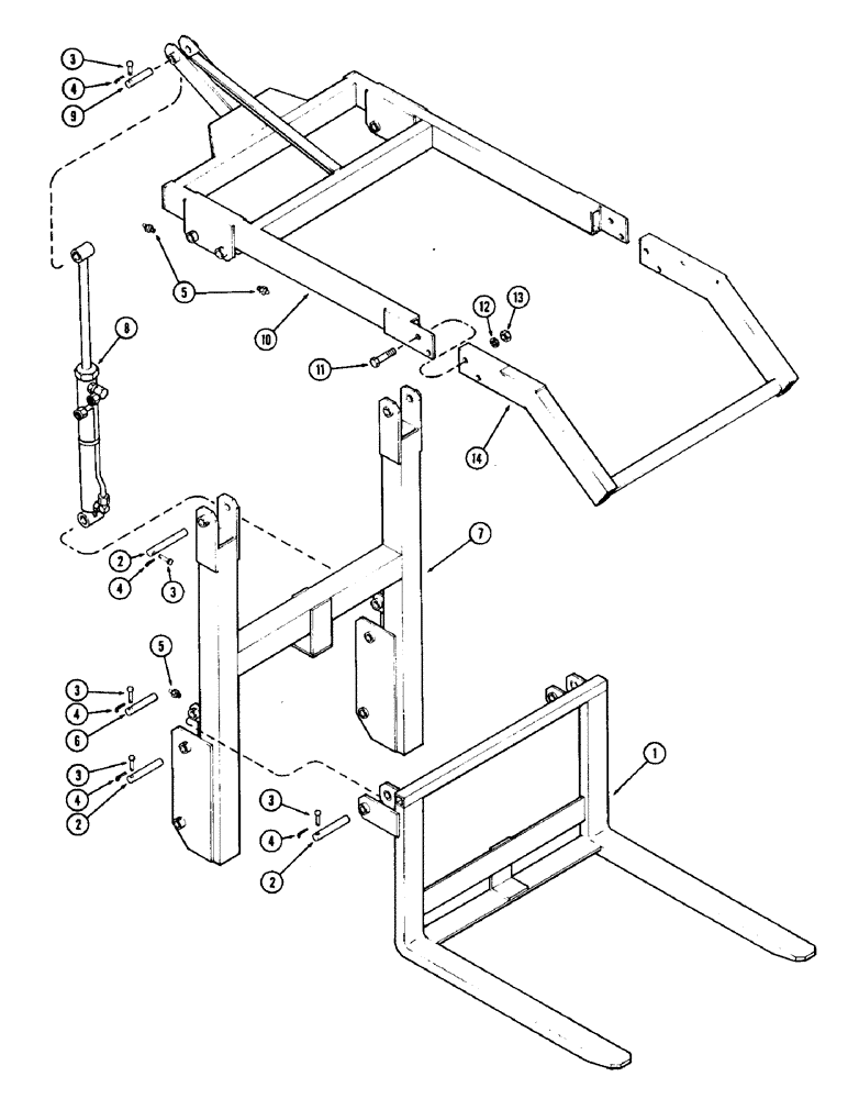
Запчасти Case IH 65 (10) - HAY BALE HANDLER, WITH TWO PIECE GRAPPLE ARM (82) - FRONT LOADER & BUCKET

Схема запчастей Case IH 65 - (10) - HAY BALE HANDLER, WITH TWO PIECE GRAPPLE ARM (82) - FRONT LOADER & BUCKET
FIT
1:1
100%

Артикул

Название

Примечание

Количество

1

T53892

TOOTH ASSEMBLY

1шт.

2

T50016

PIN

- 1-1/8 x 6-1/2"

6шт.

3

T50008

PIN

- clevis

8шт.

4

132-46

COTTER PIN,1/8" x 3/4"

Pin, Split (Cotter), 1/8" x 3/4"

8шт.

5

219-15

LUBE NIPPLE,5/16" NPTF

FITTING - grease 5/16" straight drive

6шт.

6

T50086

PIN

- 1-1/8 x 5-3/8"

1шт.

7

T53890

FRAME - main

1шт.

8

T53894

CYLINDER ASSY.

CYLINDER - hydraulic 2" (See Figure 21)

1шт.

9

T53095

HEADLESS PIN,28.57mm OD x 125mm L

PIN - 1-1/8 x 4-1/2"

1шт.

10

T53891

GRAPPLE ARM

1шт.

11

113-628

BOLT,Hex, 5/8" - 11 x 3-1/2", Gr 5

Hex, 5/8"-11 x 3 1/2", G5

4шт.

12

192-25

LOCK WASHER,5/8"

WASHER, LOCK, 5/8"

4шт.

13

129-107

NUT,5/8"-11, G5

4шт.

14

T53893

BALE CLAMP

1шт.

Выбрано товаров: 14