Запчасти Case IH 65 (22) - TWO SPOOL CONTROL VALVE AND HOSES, USED 1978 AND BEFORE (35) - HYDRAULIC SYSTEMS

Схема запчастей Case IH 65 - (22) - TWO SPOOL CONTROL VALVE AND HOSES, USED 1978 AND BEFORE (35) - HYDRAULIC SYSTEMS
FIT
1:1
100%

Артикул

Название

Примечание

Количество

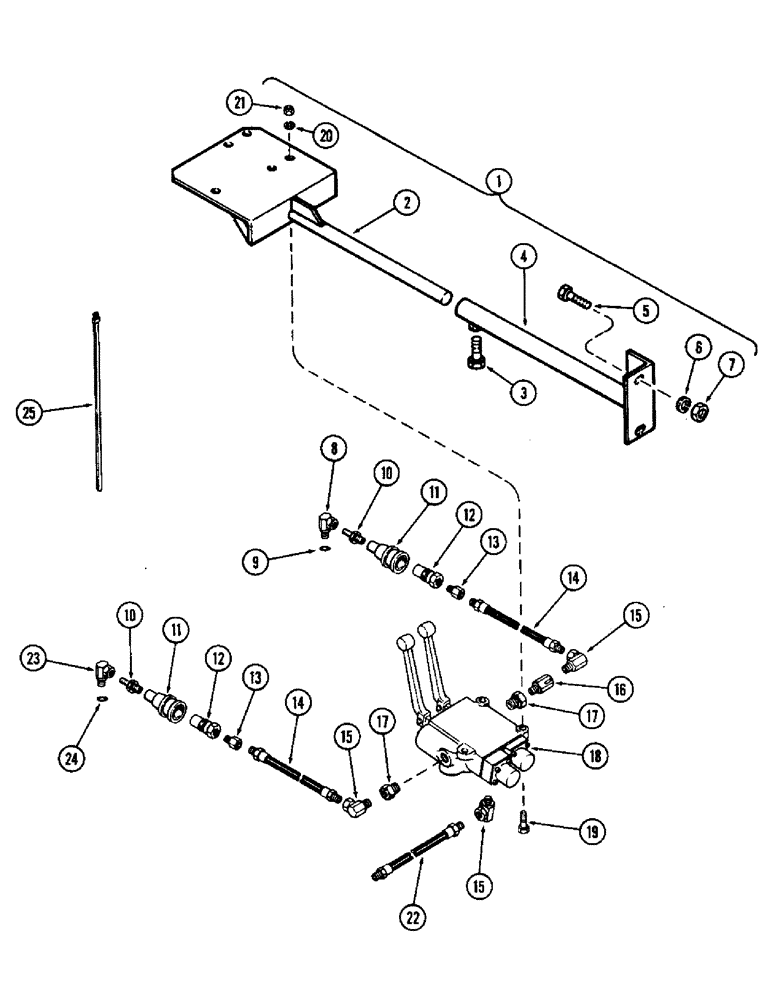
1

T53144

MOUNT ASSEMBLY - valve universal, Includes: Ref. 2 - 7

1шт.

2

T53566

EXTENSION

- valve mount

1шт.

3

113-417

BOLT,Hex, 1/2" - 13 x 1-1/4", Gr 5, Full Thd

1шт.

4

T53405

MOUNTING PARTS

BASE - valve mount

1шт.

5

113-604

BOLT,Hex, 5/8" - 11 x 2", Gr 5

2шт.

6

192-25

LOCK WASHER,5/8"

WASHER, LOCK, 5/8"

2шт.

7

129-107

NUT,5/8"-11, G5

2шт.

8

218-5201

90 ELBOW,90 Degree, 7/8"-14 O-Ring x 1/2" NPSM Fem

ASSEMBLY - 1/2 x 7/8" x 90 deg., Includes: Ref. 9

1шт.

10

A27359

ADAPTER

- 1/2 x 7/8"

2шт.

11

A28542

COUPLING, QUICK, FEM

COUPLING - female (See Figure 71)

2шт.

12

A28541

COUPLING, BREAK AWAY

COUPLING - male (See Figure 71)

2шт.

13

A27744

ADAPTER,7/8" - 18 x 1/2" NPT

- 1/2 x 7/8"

2шт.

14

T50079

HOSE - 3/8 x 60", Serial Range: (Valve-tractor)

2шт.

15

218-927

ELBOW,90 Degree, 1/2" NPTF Male x 1/2" NPSM Fem Sw

FITTING - hose 1/2" x 90 deg.

6шт.

16

T53145

CHECK VALVE

VALVE - check

1шт.

17

221-1093

REDUCER,Hex, 3/4" x 1/2" NPT

BUSHING - reducer 1/2 to 3/4"

2шт.

18

T53556

VALVE

- control (See Figure 27) (Order 1-T57201 and 6-218-5201)

1шт.

19

113-219

BOLT,Hex, 3/8" - 16 x 2", Gr 5

3шт.

20

192-21

LOCK WASHER,3/8"

WASHER, LOCK, 3/8"

3шт.

21

129-103

NUT,Hex, 3/8" - 16, Gr 5

NUT, 3/8"-16, G5

3шт.

22

T53781

BALL BEARING,49.21mm ID x 90mm OD x 30.16mm W

HOSE - 3/8 x 48" (Valve to loader)

4шт.

23

218-5203

90 ELBOW,90 Degree, 3/4"-16 O-Ring x 1/2" NPSM Fem

ASSEMLBY - 1/2 x 3/4 x 90 deg., Includes: Ref. 24

1шт.

25

T54520

STRAP

- nylon tie 3/16 x 11"

2шт.

9

218-5006

O-RING,0.087" Thk x 0.644" ID, -908, Cl 6, 90 Duro

- 5/8 x 13/16 x 3/32"

1шт.

24

218-5006

O-RING,0.087" Thk x 0.644" ID, -908, Cl 6, 90 Duro

- 5/8 x 13/16 x 3/32"

1шт.

Выбрано товаров: 25