Запчасти Case IH 66L (06) - MOUNTING BRACKETS, 1490 TWO AND FOUR WHEEL DRIVE TRACTORS W/O CAB, 1690 2WD TRACTORS WITH OR W/O CAB (82) - FRONT LOADER & BUCKET

Схема запчастей Case IH 66L - (06) - MOUNTING BRACKETS, 1490 TWO AND FOUR WHEEL DRIVE TRACTORS W/O CAB, 1690 2WD TRACTORS WITH OR W/O CAB (82) - FRONT LOADER & BUCKET
FIT
1:1
100%

Артикул

Название

Примечание

Количество

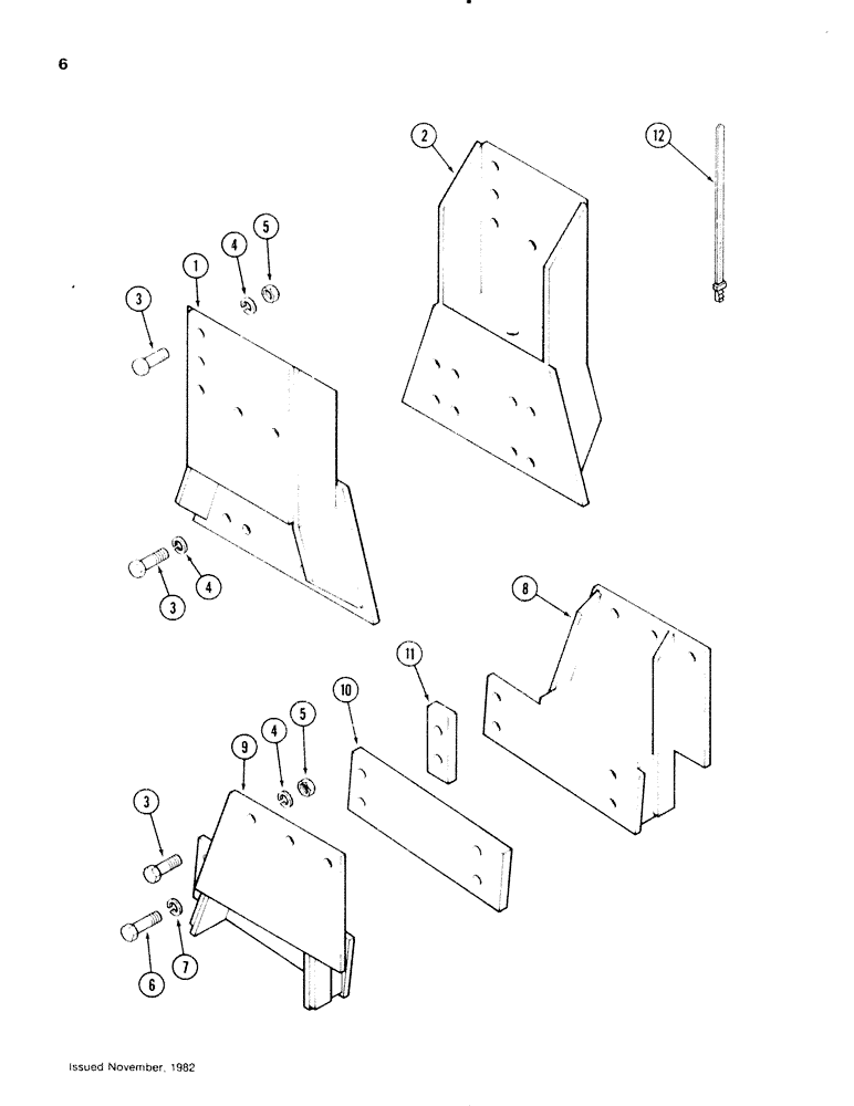
1

T57478

BRACKET - mounting right rear

1шт.

2

T57479

BRACKET

- mounting left rear

1шт.

3

113-600

BOLT,Hex, 5/8" - 11 x 1-3/4", Gr 5

24шт.

4

192-25

LOCK WASHER,5/8"

WASHER, LOCK, 5/8"

24шт.

5

129-107

NUT,5/8"-11, G5

16шт.

6

113-604

BOLT,Hex, 5/8" - 11 x 2", Gr 5

8шт.

7

192-25

LOCK WASHER,5/8"

WASHER, LOCK, 5/8"

8шт.

8

T57480

BRACKET

- mounting left front

1шт.

9

T57481

BRACKET

- mounting right front

1шт.

10

T57482

BAR

- spacer (Used without weight bracket)

2шт.

11

T57483

BAR

- spacer (Used with weight bracket)

2шт.

12

L11541

CABLE TIE,203.2mm L, Nylon

STRAP - nylon tie

1шт.

Выбрано товаров: 12