Запчасти Case IH 70 (28) - GRAPPLE OVER BUCKET (82) - FRONT LOADER & BUCKET

Схема запчастей Case IH 70 - (28) - GRAPPLE OVER BUCKET (82) - FRONT LOADER & BUCKET
FIT
1:1
100%

Артикул

Название

Примечание

Количество

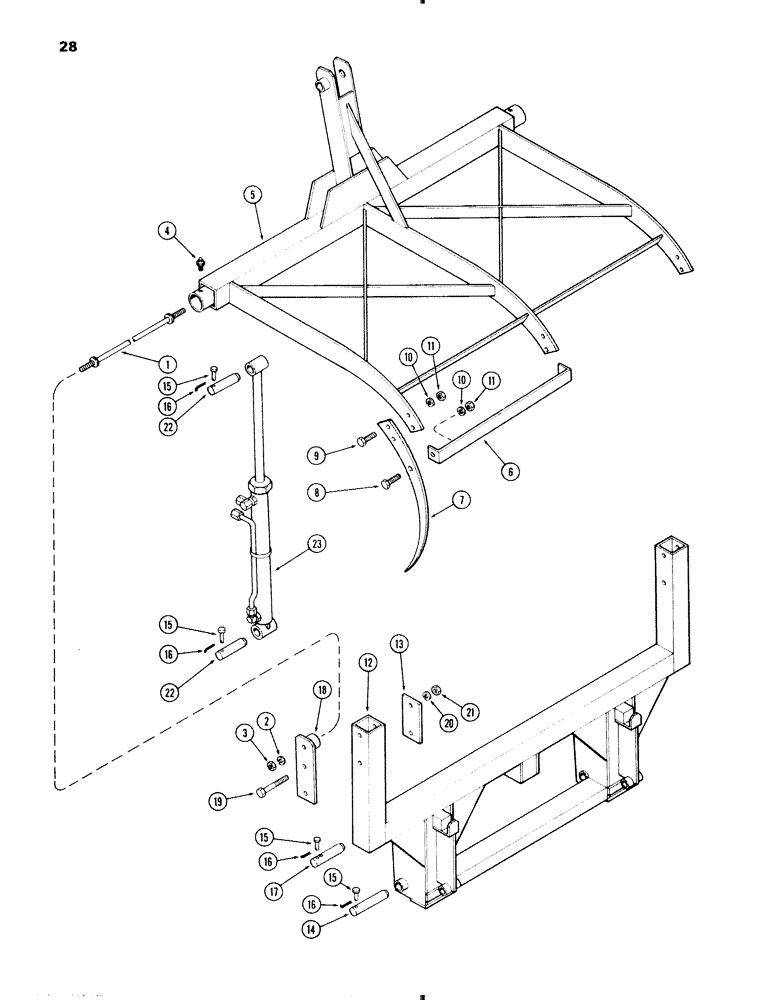
1

T53101

ROD

TIE ROD ASSEMBLY

1шт.

2

192-25

LOCK WASHER,5/8"

WASHER, LOCK, 5/8"

2шт.

3

129-107

NUT,5/8"-11, G5

2шт.

4

219-15

LUBE NIPPLE,5/16" NPTF

FITTING - grease 5/16" straight drive

2шт.

5

T53100

SWING ARM ASSEMBLY

1шт.

6

T53103

BRACE

- tie

2шт.

7

T53104

TOOTH

- grapple

3шт.

8

113-600

BOLT,Hex, 5/8" - 11 x 1-3/4", Gr 5

3шт.

9

113-604

BOLT,Hex, 5/8" - 11 x 2", Gr 5

6шт.

10

192-25

LOCK WASHER,5/8"

WASHER, LOCK, 5/8"

9шт.

11

129-107

NUT,5/8"-11, G5

9шт.

12

T53099

FRAME - main

1шт.

13

T53102

LARGE PLATE

PLATE - reinforcement

2шт.

14

T50016

PIN

- 1-1/8 x 6-1/2"

2шт.

15

T50008

PIN

- clevis

6шт.

16

132-46

COTTER PIN,1/8" x 3/4"

Pin, Split (Cotter), 1/8" x 3/4"

6шт.

17

T53912

PIN

- 1-1/8 x 6-1/2"

2шт.

18

T53082

BRACKET

- pivot

2шт.

19

113-647

BOLT,Hex, 5/8" - 11 x 5", Gr 5

- 5/8 x 5" NC hex (Grade 5)

4шт.

20

192-25

LOCK WASHER,5/8"

WASHER, LOCK, 5/8"

4шт.

21

129-107

NUT,5/8"-11, G5

4шт.

22

T50086

PIN

- 1-1/8 x 5-3/8"

2шт.

23

T53146

CYLINDER

- hydraulic 2" (See Figure 37)

1шт.

Выбрано товаров: 23