Запчасти Case IH 890 (9-08) - PARKING STAND (09) - CHASSIS/ATTACHMENTS

Схема запчастей Case IH 890 - (9-08) - PARKING STAND (09) - CHASSIS/ATTACHMENTS
8
17
15
11
6
15
18
3
9
2
18
14
13
7
4
5
1
16
10
12
FIT
1:1
100%

Артикул

Название

Примечание

Количество

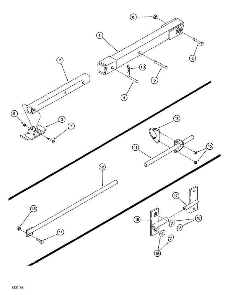
1

1978837C1

STAND

- parking

2шт.

2

1978918C1

STAND

- parking, left hand

1шт.

2

1978919C1

STAND

- parking, right hand

1шт.

3

1978835C1

FOOT

- parking stand

2шт.

4

439-11064

HEADED PIN,5/8" x 4"

PIN - headed, 5/8 x 4 inch, grade 2

2шт.

5

Q618

HEADED PIN,5/8" x 5 3/4"

PIN - headed, 5/8 x 5-3/4 inch

2шт.

6

326-1296

BOLT,Hex, 3/4" - 10 x 6", Gr 8

2шт.

7

326-864

BOLT,Hex, 1/2" - 13 x 4", Gr 8

2шт.

8

230-42112

LOCK NUT,3/4"-10, GA

NUT - hex, self-locking, 3/4 inch NC, two way

2шт.

9

230-4218

LOCK NUT,1/2"-13, GA

NUT - hex, self-locking, 1/2 inch NC

2шт.

10

T54573

PIN

- cotter, hair

4шт.

11

1978839C1

TUBE

- bucket level indicator

1шт.

12

1978840C1

ROD ASSY.

ROD - bucket level indicator

1шт.

13

1978838C1

CLAMP

- bucket level indicator

1шт.

14

413-620

BOLT,Hex, 3/8" - 16 x 1-1/4", Gr 5

- hex, 3/8 NC x 1-1/4 inch, BUCKET LEVEL INDICATOR

1шт.

15

425-106

NUT,3/8"-16, Cl 5

Bucket Level Indicator 3/8"-16, G5

3шт.

16

1978833C1

LATCH ASSY.

LATCH - service door, female , HOOD

1шт.

17

1978834C1

LATCH ASSY.

LATCH - service door, male , HOOD

1шт.

18

495-11034

WASHER,5/16", SAE

5/16" SAE (flat, 11/32 x 11/16 x 1/16"), Hood Service Door

4шт.

Выбрано товаров: 19