Запчасти Case IH 890 (8-06) - HYDRAULIC CONTROLS, REAR MOUNT, TWO FUNCTION (08) - HYDRAULICS

Схема запчастей Case IH 890 - (8-06) - HYDRAULIC CONTROLS, REAR MOUNT, TWO FUNCTION (08) - HYDRAULICS
3
5
15
9
1
4
13
10
12
5
14
12
6
2
8
11
7
FIT
1:1
100%

Артикул

Название

Примечание

Количество

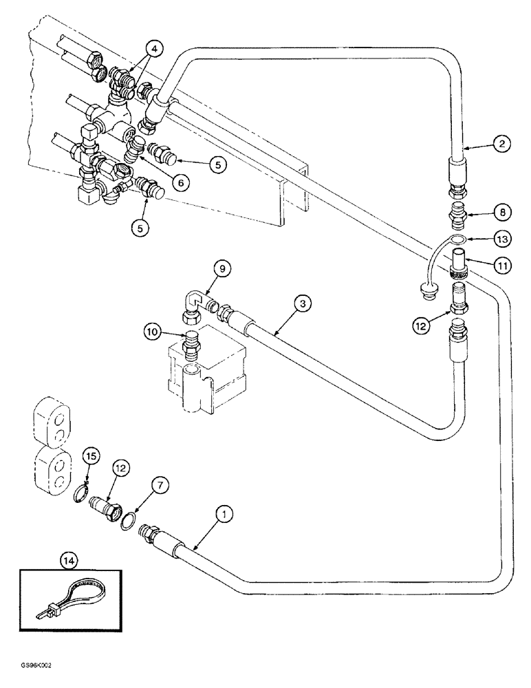
1

253229A1

HOSE

- 5080 mm (200 inch) long, loader to remote couplers

4шт.

2

250641A1

HOSE

- 1930 mm (76 inch) long, mid, Serial Range: mount-loader

1шт.

3

247033A1

HOSE

- 1660 mm (63 inch) long, return to mid mount

1шт.

4

218-736

UNION,7/8"-14, 37 Degree x 7/8"-14, 37 Degree

CONNECTOR - straight, 7/8-14 inch flare

2шт.

5

218-5066

HYD CONNECTOR,7/8" - 14 Male JIC x 3/4" - 16 Male ORB

CONNECTOR, HYD., straight, 7/8-14 flare x 3/4-16 inch O-ring boss

2шт.

6

218-445

HYD CONNECTOR,7/8" - 14 Male JIC x 1/2" - 14 Male NPTF

ADAPTER - straight, 7/8-14 flare x 1/2 inch PT

1шт.

7

237-6010

O-RING,0.097" Thk x 0.755" ID, -910, Cl 6, 90 Duro

10-1, 90 Duro, .755" ID x .097" Thk

4шт.

8

218-5062

HYD CONNECTOR,7/8"-14, 37 Degree x 7/8"-14, O-Ring

ADAPTER - straight, 7/8-14 inch flare x O-ring boss

1шт.

9

201-361

ELBOW,90 Degree Elbow, 1" - 14 Male JIC x 1" - 14 Female JIC

- 90 degree, 1-14 inch face seal x swivel face

1шт.

10

201-131

HYD CONNECTOR,1"-12 ORFS x 9/16"-18 ORB

ADAPTER - straight, 1-14 face seal x 1-1/16-12 inch O-ring boss

1шт.

11

1272400C1

COUPLING

COUPLER - self sealing, female

1шт.

12

1272399C2

QUICK MALE COUPLING

COUPLER - self sealing, male, 7/8 inch NF

5шт.

13

1954133C1

PLUG

PLUG - coupling, dust

1шт.

14

306132C1

CABLE TIE,14.5" L

STRAP - tie, 14 inch

4шт.

15

1985078C1

KIT

- coupler tag, color coded

1шт.

Выбрано товаров: 15