Запчасти Case IH L160 (008) - MOUNTING PLATES, PALLET & UTILITY FORKS (82) - FRONT LOADER & BUCKET

Схема запчастей Case IH L160 - (008) - MOUNTING PLATES, PALLET & UTILITY FORKS (82) - FRONT LOADER & BUCKET
7
4
2
5
5
7
4
8
6
3
6
8
1
FIT
1:1
100%

Артикул

Название

Примечание

Количество

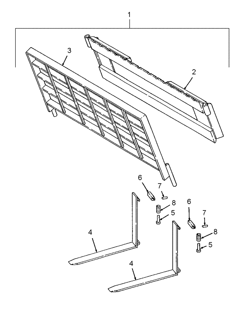
1

W0

ORDER WHOLEGOODS

Mount, Fork Assy.

1шт.

715100006

1шт.

2

86577330

DECAL

Fork, Pallet Fork Rating

1шт.

3

715101006

FORK

36", Includes: Ref. 4 thru 7

1шт.

715101006

1шт.

3

715102006

FORK

42", Includes: Ref. 4 thru 7

1шт.

715102006

1шт.

3

715103006

FORK

48", Includes: Ref. 4 thru 7

1шт.

715103006

1шт.

4

226130

PIN,15.24mm OD x 50.8mm L

5/8" (15.8mm)

1шт.

5

226129

HANDLE

1шт.

6

38-11216

LOCK PIN,3/16" x 1", Slotted

(4.8mm x 25.4mm)

1шт.

7

9800081

SPRING

5/8" ID (15.8mm)

1шт.

Выбрано товаров: 0