Качественные детали и логистика
Оригинальные и аналоговые запчасти с доставкой по России, Казахстану и Беларуси
©2022 PartSell ООО "Система" ИНН 2463123282 ОГРН 1212400004838
Центральный офис: г. Красноярск, Академика Киренского, д.87, пом.4
Телефон: 8 (800) 777-65-74 Email: zakaz@partsell.ru
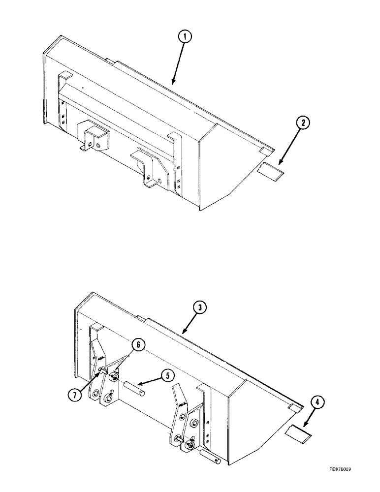
(9-16) - MATERIAL BUCKET
№
Артикул
Название
Примечание
Количество
1
1985062C3
BUCKET
96 in., Heavy Duty, Machinery Item, Quick Attach Type
1шт.
2
1540351C1
EDGE, CUTTING
97-1/2 in.
3
1985074C3
96 in., Heavy Duty, Machinery Item, standard attach type
4
5
1985029C1
PIN,29mm OD x 187mm L
headless, 1-1/8 x 7-1/4
4шт.
6
432-612
COTTER PIN,3/32" x 3/4"
7
427-6225
CLEVIS PIN,3/8" x 2 1/4"
3/8 x 2-1/4"
Выбрано товаров: 0