Запчасти Case IH L300 (8-08) - HYDRAULICS, BUCKET, WITH SELF LEVELING (08) - HYDRAULICS

Схема запчастей Case IH L300 - (8-08) - HYDRAULICS, BUCKET, WITH SELF LEVELING (08) - HYDRAULICS
7
12
1
18
16
11
9
16
2
3
6
10
4
3
15
21
21
24
3
4
5
10
8
15
21
17
4
21
6
26
20
13
9
14
19
7
FIT
1:1
100%

Артикул

Название

Примечание

Количество

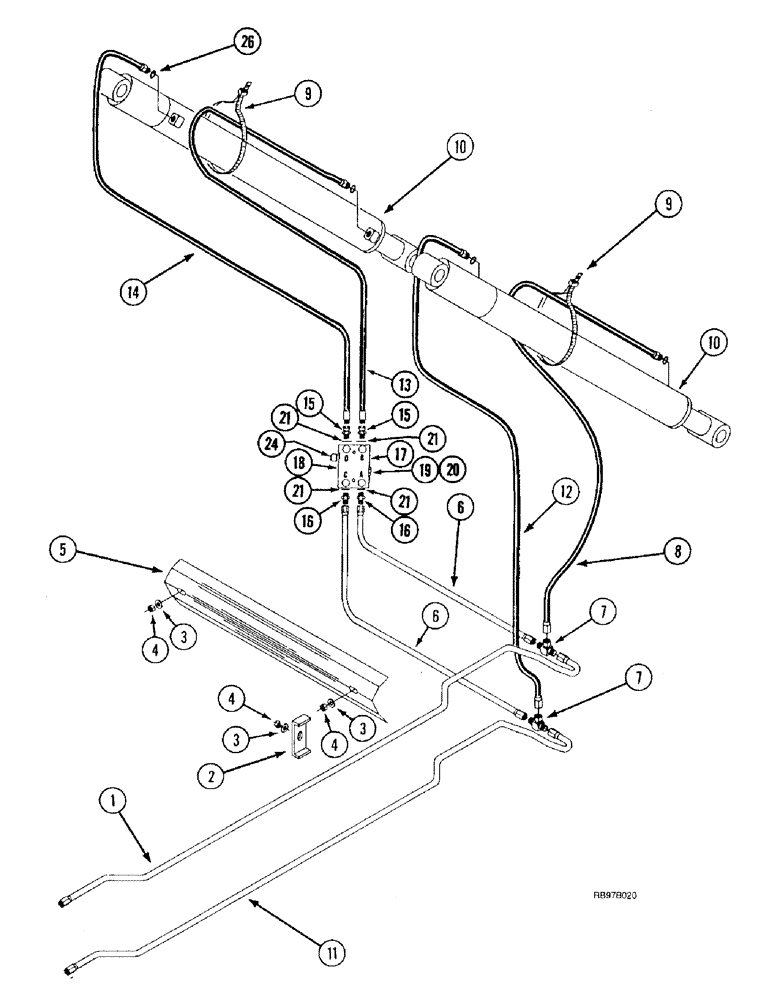
1

1985005C1

HYD TUBE,0.5" OD

1шт.

2

1985012C1

CLAMP

2шт.

3

495-21044

WASHER,3/8"

(7/16 x 1 x 5/64)

4шт.

4

231-1446

NUT,3/8" - 16, Gr 5

4шт.

5

1985014C1

COVER

protective

1шт.

6

1985007C1

HYD TUBE,0.5" OD

2шт.

7

218-840

TEE,37 Degree, 3/4"-16 x 3/4"-16, Fem Sw Br

3/4-16 sw br x fl x fl

2шт.

8

1985017C1

HOSE

1118 mm (44 in)

1шт.

9

386170C1

CABLE TIE,.30" x 27 1/2"

CABLE STRAP

2шт.

10

105064A1

CYLINDER,Double Acting, 44.45mm Rod, 647.7mm Stroke

ASSY., 76 ID x 648 mm strk Bucket See Figure: 8-50

2шт.

11

1985003C1

HYD TUBE,0.5" OD

1шт.

12

1985018C1

HOSE

711 mm (28 in)

1шт.

13

1540350C1

HOSE

1308 mm (51-1/2 in)

1шт.

14

1540355C1

HOSE

914 mm (36 in)

1шт.

15

1327736C1

ELBOW

ADAPTER, 3/4 fl x 3/4 or

2шт.

16

218-5059

HYD CONNECTOR,3/4"-16, 37 Degree x 3/4"-16, O-Ring

Adapter

2шт.

17

1540354C1

VALVE

self level, Includes: 18-24

1шт.

Part is a Husco valve. The valve body may have "CROSS" stamped on it.

1шт.

18

1540360C1

VALVE

body

1шт.

19

D54590

PLUG

ASSY., Consists of: 20-23

1шт.

20

NSS

NOT SOLD SEPARAT

PLUG

1шт.

21

237-6010

O-RING,0.097" Thk x 0.755" ID, -910, Cl 6, 90 Duro

Not Illustrated

1шт.

22

238-6015

O-RING,0.07" Thk x 0.551" ID, -15, Cl 6, 90 Duro

Not Illustrated

1шт.

23

D56904

BACK-UP RING

back-up, Not Illustrated

1шт.

24

1540361C1

VALVE

relief 3200 psi

1шт.

25

220721A1

SEAL KIT

package, seals relief valve

1шт.

The seal kit listed is a cross kit and will not fit the Dana valve.

1шт.

26

237-6008

O-RING,0.087" Thk x 0.644" ID, -908, Cl 6, 90 Duro

4шт.

Выбрано товаров: 28