Запчасти Case IH L340 (011) - BUCKETS & CUTTING EDGES

Схема запчастей Case IH L340 - (011) - BUCKETS & CUTTING EDGES
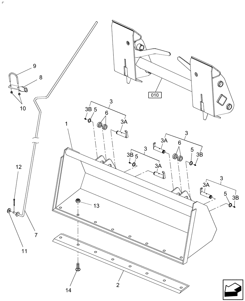
8
3a
2
5
010
5
12
3a
3b
6
5
14
3
11
3b
3
7
10
5
13
3b
1
3
9
6
3b
3a
3a
3
FIT
1:1
100%

Артикул

Название

Примечание

Количество

1

W0

ORDER WHOLEGOODS

60" Std. Duty Material Bucket with Holes for Cutting Edge Pin-On

1шт.

715716016

1шт.

1

715719076

BUCKET

60" H.D. Duty Material Bucket

1шт.

1

715719086

BUCKET

60" H.D. Duty Material Bucket with Holes for Cutting Edge, Pin-On

1шт.

1

715729076

BUCKET

60" H.D. Duty Material Bucket

1шт.

1

715729086

BUCKET

60" H.D. Material Bucket with Holes for Cutting Edge, Quick-Attach

1шт.

1

716425066

BUCKET

68" H.D. Material Bucket with Holes for Cutting Edge Quick-Attach

1шт.

2

716426016

CUTTING EDGE

60" Bolt-On Cutting Edge, Double Edge and Reversible

1шт.

2

716427016

KIT

68" Bolt-On Cutting Edge, Double Edge and Reversible

1шт.

3

87489779

SPECIAL PIN,31.75mm OD x 136.15mm L

Includes: 3A (87544570) & 3B

4шт.

Used with 716653136 Quick Attach Faceplate Kit

1шт.

3

84153774

PIN

Includes: 3A (87723349) & 3B

4шт.

Included in 716653176 Quick Attach Faceplate Kit

1шт.

3a

87544570

SPECIAL PIN,31.75mm OD x 136.15mm L

5.11" Long & 4.80" to the Snap Ring Groove

4шт.

3a

87723349

PIN,31.75mm OD x 136.15mm L, W/ Flag

5.36" Long and 5.04" to the Snap Ring Groove

4шт.

3b

87414

LUBE NIPPLE,1/4" - 28

4шт.

5

40974

SNAP RING,#125, Ext

4шт.

6

87525375

SPACER

4шт.

7

86597425

ROD

Bucket Level Indicator

1шт.

8

86597302

BRACKET

1шт.

9

86597407

U-BOLT

1шт.

10

280736

NUT,5/16"-18, GC

2шт.

11

80700

WASHER,0.56" ID x 1.38" OD x 0.11" Thk

1шт.

12

394818

COTTER PIN,M5 x 25

1шт.

13

88871

NUT,1/2"-13, GC

8шт.

14

280969

PLOW BOLT,#3, 1/2" - 13 x 1 3/4", Gr 5

8шт.

Выбрано товаров: 26