Запчасти Case IH L350 (011.01) - BUCKETS & BOLT-ON CUTTING EDGES (00) - COMPLETE MACHINE

Схема запчастей Case IH L350 - (011.01) - BUCKETS & BOLT-ON CUTTING EDGES (00) - COMPLETE MACHINE
8
9
8b
9
8
8
13
8a
3
8a
8b
10
6
10
8b
2
1
8a
2
12
9
4
16
10
5
14
8
10
17
8b
15
8a
9
011
FIT
1:1
100%

Артикул

Название

Примечание

Количество

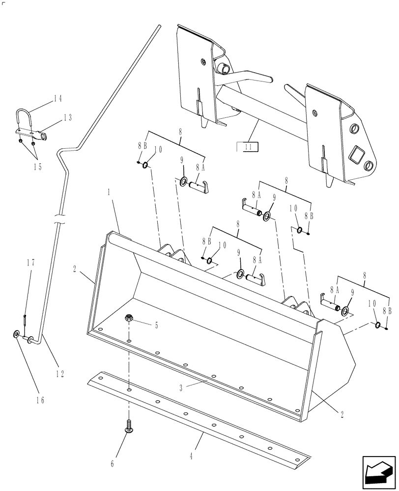
1

715720106

BUCKET

Bucket, 72", HD Material, Pin-On

1шт.

1

715730086

BUCKET

Bucket, 72", Heavy Duty, Quick Attach

1шт.

2

SML44408

CUTTING EDGE

Side, 72", Heavy Duty Pin-On & Heavy Duty Quick Attach

2шт.

3

SML47751

CUTTING EDGE

Bottom, 72", Heavy Duty Pin-On & Quick Attach (with Holes)

1шт.

4

716894026

CUTTING EDGE

Edge, Cutting, Bolt-On 72"

1шт.

5

88871

NUT,1/2"-13, GC

1шт.

6

280969

PLOW BOLT,#3, 1/2" - 13 x 1 3/4", Gr 5

1шт.

7

86582385

DECAL

White, Alignment, 14"

2шт.

Not Illustrated

1шт.

8

87489779

SPECIAL PIN,31.75mm OD x 136.15mm L

Includes: Ref. 8A (87544570) & 8B

4шт.

Used with 716653156 Quick Attach Faceplate Kit

1шт.

8

84153774

PIN

Includes: 8A (87723349) & 8B

4шт.

Included in 716653186 Quick Attach Faceplate Kit

1шт.

8a

87544570

SPECIAL PIN,31.75mm OD x 136.15mm L

5.11" Long & 4.80" to the Snap Ring Groove

4шт.

8a

87723349

PIN,31.75mm OD x 136.15mm L, W/ Flag

5.36" Long and 5.04" to the Snap Ring Groove

4шт.

8b

87414

LUBE NIPPLE,1/4" - 28

4шт.

9

86632583

WASHER,1.28" ID x 2" OD x 0.12" Thk

8шт.

10

40974

SNAP RING,#125, Ext

4шт.

12

86597425

ROD

Bucket Level Indicator

1шт.

13

86597302

BRACKET

1шт.

14

86597407

U-BOLT

1шт.

15

280736

NUT,5/16"-18, GC

2шт.

16

80700

WASHER,0.56" ID x 1.38" OD x 0.11" Thk

1шт.

17

394818

COTTER PIN,M5 x 25

1шт.

Выбрано товаров: 24