Запчасти Case IH L360 (014) - BUCKETS

Схема запчастей Case IH L360 - (014) - BUCKETS
11
8
15
1
16
6
2
9
10
8
2
010
4
5
10
9
14
8
10
10
12
3
13
8
9
9
FIT
1:1
100%

Артикул

Название

Примечание

Количество

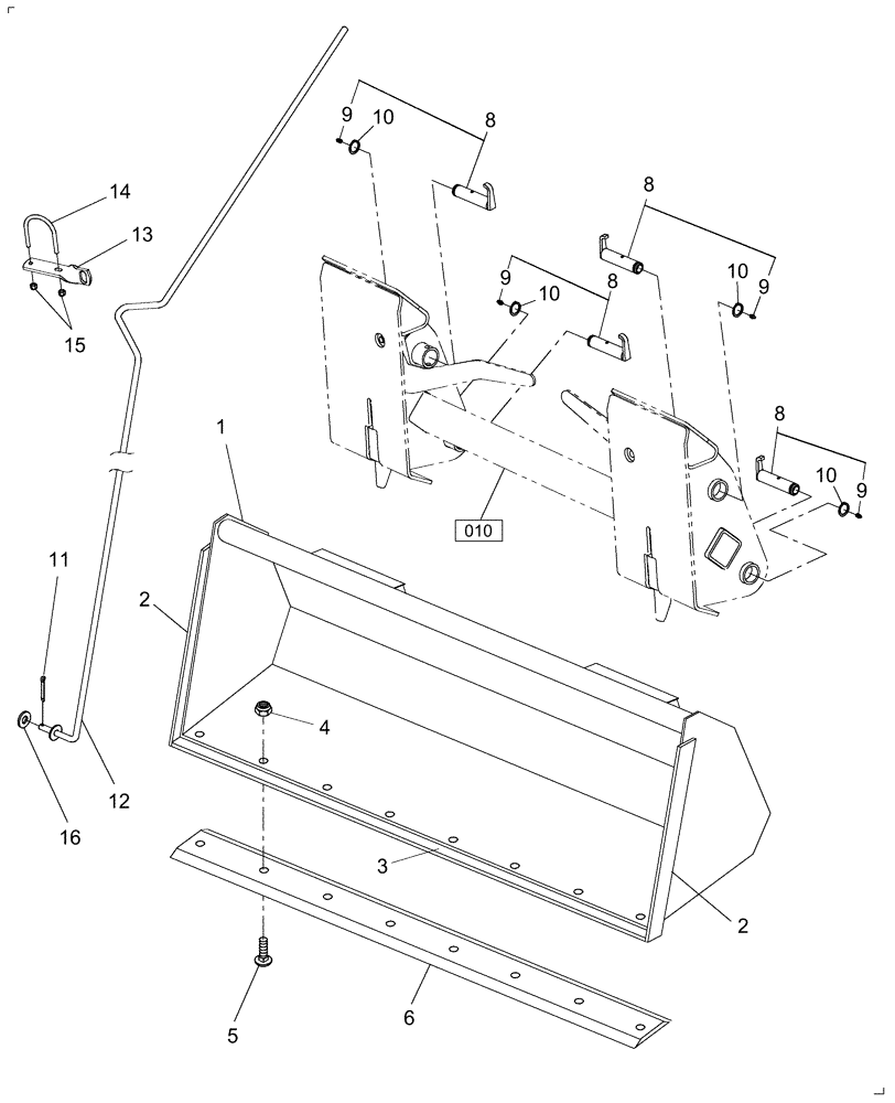
1

717222016

BUCKET

Bucket, 72" Quick Attach Heavy Duty

1шт.

1

717222036

BUCKET

BUCKET, 72" Quick Attach Heavy Duty

1шт.

2

SML44408

CUTTING EDGE

Side

2шт.

3

SML47751

CUTTING EDGE

Bottom

1шт.

4

88871

NUT,1/2"-13, GC

8шт.

5

280969

PLOW BOLT,#3, 1/2" - 13 x 1 3/4", Gr 5

8шт.

6

86604458

CUTTING EDGE

Bolt-on 72", INCLUDES: (8) 1/2 x 1-3/4" Plow Bolts & (8) 1/2" Locknuts

1шт.

6

716894026

CUTTING EDGE

Edge, Cutting, Bolt-on 72" {715720046 or 715730036) DOES NOT INCLUDE HARDWARE

1шт.

7

86582385

DECAL

White, Alignment, 14"

2шт.

Not Illustrated

1шт.

8

87489779

SPECIAL PIN,31.75mm OD x 136.15mm L

122mm Includes: Ref. 9

4шт.

9

87414

LUBE NIPPLE,1/4" - 28

4шт.

10

40974

SNAP RING,#125, Ext

4шт.

11

394818

COTTER PIN,M5 x 25

1шт.

12

86597425

ROD

Bucket Level Indicator

1шт.

13

87033074

BRACKET

1шт.

14

87033073

BOLT

U

1шт.

15

280736

NUT,5/16"-18, GC

2шт.

16

80700

WASHER,0.56" ID x 1.38" OD x 0.11" Thk

1шт.

Выбрано товаров: 0