Запчасти Case IH L360A (82.102.010) - QUICK COUPLER ASSY. (82) - FRONT LOADER & BUCKET

Схема запчастей Case IH L360A - (82.102.010) - QUICK COUPLER ASSY. (82) - FRONT LOADER & BUCKET
12
4
3
15
9
8
11
14
17
1
5
6
16
14
18
12
2
10
7
13
FIT
1:1
100%

Артикул

Название

Примечание

Количество

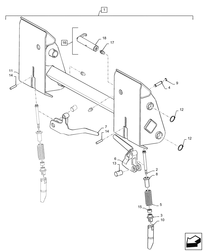
1

48071619

PLATE

Quick Attach, Assy, Incl 2 - 18

1шт.

2

86506112

12 PT SCREW,3/8" - 16 x 5" L

2шт.

3

86510869

PIN,22.20mm OD x 43.6mm L

2шт.

4

86538563

PIN,12.7mm OD x 60.6mm L

2шт.

5

86610167

SPRING,Compression, 35.15mm OD x 101.6mm L

2шт.

6

86591458

HANDLE

LH

1шт.

7

86591460

HANDLE

RH

1шт.

8

86610166

GUIDE,13.5mm ID x 22mm OD x 46.6mm L

Spring

2шт.

9

86571009

SNAP RING,#50, Ext

4шт.

10

86575348

PIN,31.75mm x 142mm L

Latch

2шт.

11

NSS

NOT SOLD SEPARAT

Quick Coupler Weldment, Incl in 1

1шт.

12

40974

SNAP RING,#125, Ext

4шт.

13

9829733

PIN,25.4mm OD x 39mm L

2шт.

14

86616372

LOCK PIN,9.53mm OD x 44.45mm L, Slotted

2шт.

15

87412041

SPACER,13.88mm ID x 21.34mm OD x 12mm L

2шт.

16

84153774

PIN

Assy, Incl 17, 18

4шт.

17

87414

LUBE NIPPLE,1/4" - 28

4шт.

18

87723349

PIN,31.75mm OD x 136.15mm L, W/ Flag

4шт.

Выбрано товаров: 18