Запчасти Case IH L400 (9-10) - MOUNTING BRACKETS, CX50, CX60 (09) - CHASSIS/ATTACHMENTS

Схема запчастей Case IH L400 - (9-10) - MOUNTING BRACKETS, CX50, CX60 (09) - CHASSIS/ATTACHMENTS
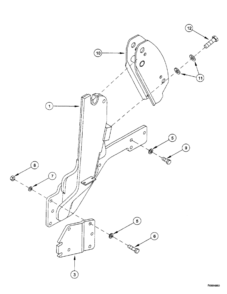
7
3
6
8
5
9
1
10
12
5
11
FIT
1:1
100%

Артикул

Название

Примечание

Количество

1

347445A1

BRACKET

right hand

1шт.

1

347446A1

BRACKET

left hand, Not Illustrated

1шт.

3

338548A2

PLATE

right hand

1шт.

3

338549A2

PLATE

left hand, Not Illustrated

1шт.

5

896-10020

WASHER,21.8mm ID x 37.5mm OD x 4mm Thk

22 x 37 x 4 mm

14шт.

6

828-20070

BOLT,Hex, M20 x 2.5 x 70mm, Cl 10.9

6шт.

7

892-11020

LOCK WASHER,M20

WASHER, LOCK, M20

6шт.

8

829-1320

NUT,M20, Cl 10

6шт.

9

628-20050

BOLT,Hex, M20 x 50mm, Cl 10.9

BOLT, Hex, M20 x 50, 10.9, Full Thd

8шт.

10

337628A3

BOOM

BRACKET

2шт.

11

496-31106

WASHER,1 1/16" x 2" x .219", HDN

1-1/16 x 2 x 7/32

4шт.

12

426-1656

BOLT,Hex, 1" - 8 x 3-1/2", Gr 8

1 x 3-1/2

2шт.

Выбрано товаров: 12