Запчасти Case IH L500 (8-022) - HYDRAULICS - EXTERNAL VALVE (2 FUNCTION MX80 - MX100C) WITHOUT SELF LEVELING (08) - HYDRAULICS

Схема запчастей Case IH L500 - (8-022) - HYDRAULICS - EXTERNAL VALVE (2 FUNCTION MX80 - MX100C) WITHOUT SELF LEVELING (08) - HYDRAULICS
26
14
4
17
6
12
18
16
11
22
27
13
27
23
20
1
5
31
8
19
25
2
28
22
33
21
3
7
24
FIT
1:1
100%

Артикул

Название

Примечание

Количество

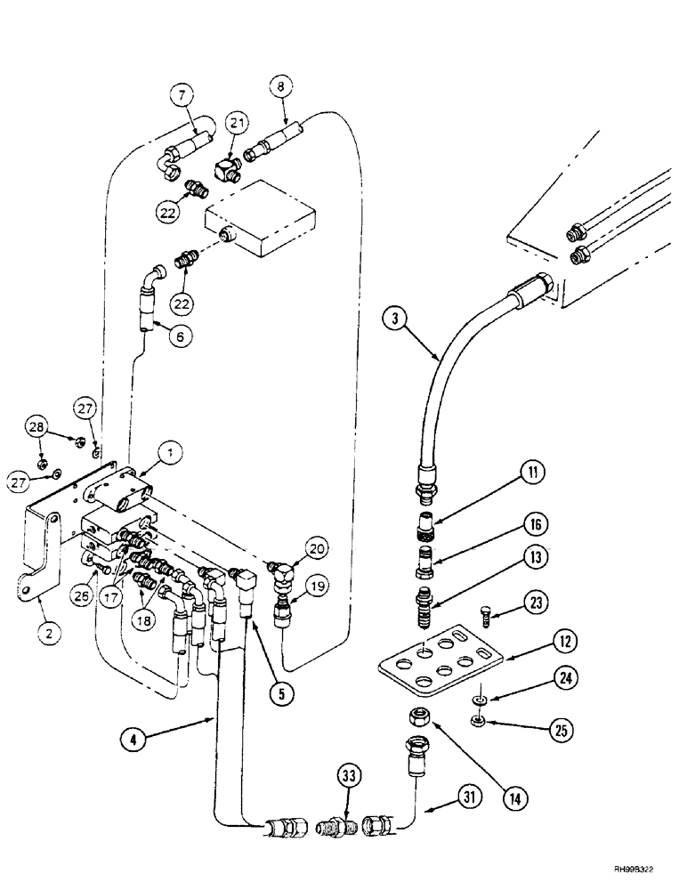
1

105080A1

VALVE

ASSY. CONTROL, See Figure(s) : 8-62

1шт.

2

246939A2

SUPPORT

1шт.

3

327198A2

HOSE

4шт.

4

357374A1

HOSE ASSY.

2шт.

5

357375A1

HOSE ASSY.

2шт.

6

222637A2

HOSE ASSY.

supply

1шт.

7

222635A1

HOSE ASSY.,15.88mm ID x 1270mm L

return

1шт.

8

222638A1

HOSE ASSY.

1шт.

11

1272400C1

COUPLING

female

4шт.

12

327223A1

PLATE

1шт.

13

218-675

FITTING,Blkhd, 7/8"-14, 37 Degree x 7/8"-14, 37 Degree

FIT STL BULKHD .625MJ .625MJ

4шт.

14

218-1251

BHD LOCK NUT,Blkhd, 7/8"-14

4шт.

15

237-6010

O-RING,0.097" Thk x 0.755" ID, -910, Cl 6, 90 Duro

4шт.

237-6010 S O-RING, 5/8 OD TUBE CLASS 6

1шт.

16

1272399C2

QUICK MALE COUPLING

7/8 NF, Self-Sealing, Male

4шт.

17

218-5062

HYD CONNECTOR,7/8"-14, 37 Degree x 7/8"-14, O-Ring

adapter

2шт.

18

201-103

HYD CONNECTOR,1" - 14 Male ORFS x 7/8" - 14 Male ORB

2шт.

201-103 CONNECTOR, 5/8 ORFS-ORB 5/8

1шт.

19

T53145

CHECK VALVE

1шт.

20

218-5201

90 ELBOW,90 Degree, 7/8"-14 O-Ring x 1/2" NPSM Fem

elbow, 90

1шт.

21

700-345

ELBOW,90 Degree Elbow, 11/16" - 16 Male ORFS x M18 x 1.5 Male ORB

90

1шт.

22

700-103

HYD CONNECTOR,1" - 14 Male ORFS x M22 x 1.5 Male ORB

Adapter

2шт.

700-103 CONNECTOR, 16MM ORFS X M22 ORB

1шт.

23

413-820

BOLT,Hex, 1/2" - 13 x 1-1/4", Gr 5

2шт.

24

80679

LOCK WASHER,1/20.507 CST ZND

2шт.

25

425-108

NUT,1/2" - 13, Gr 5

2шт.

26

413-620

BOLT,Hex, 3/8" - 16 x 1-1/4", Gr 5

4шт.

27

495-11041

WASHER,0.406" ID x 0.812" OD x 0.065" W

(13/32 x 13/16 x 1/16")

4шт.

28

231-4116

NUT,3/8"-16, GB

4шт.

29

306132C1

CABLE TIE,14.5" L

CABLE STRAP 14 in

4шт.

31

357385A1

HOSE ASSY.

4шт.

33

218-736

UNION,7/8"-14, 37 Degree x 7/8"-14, 37 Degree

4шт.

238-6016 S O-RING, 5/8 X 3/4 CLASS 6

1шт.

637-63193 O-RING, 2.2W X 19.3 IDMM CL 6

1шт.

Выбрано товаров: 34