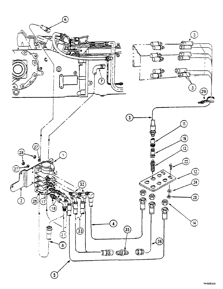
Запчасти Case IH L500 (8-028) - HYDRAULICS - EXTERNAL VALVE (3 FUNCTION CX70 - CX100) WITHOUT SELF LEVELING (08) - HYDRAULICS

Схема запчастей Case IH L500 - (8-028) - HYDRAULICS - EXTERNAL VALVE (3 FUNCTION CX70 - CX100) WITHOUT SELF LEVELING (08) - HYDRAULICS
11
6
18
27
1
32
17
27
3
14
5
35
28
33
6
12
3
4
2
24
31
25
7
29
13
3
16
23
26
36
FIT
1:1
100%

Артикул

Название

Примечание

Количество

1

REF

INSTRUCTION

VALVE ASSY. CONTROL, See Figure(s) : 8-72

1шт.

2

252390A2

SHEET

BRACKET

1шт.

3

327198A2

HOSE

6шт.

4

327212A1

HOSE ASSY.

1шт.

5

327211A1

HOSE ASSY.

1шт.

6

247030A1

HOSE

supply

1шт.

7

357370A1

HOSE ASSY.

return

1шт.

11

1272400C1

COUPLING

female

6шт.

12

327223A1

PLATE

1шт.

13

218-675

FITTING,Blkhd, 7/8"-14, 37 Degree x 7/8"-14, 37 Degree

FIT STL BULKHD .625MJ .625MJ

6шт.

14

218-1251

BHD LOCK NUT,Blkhd, 7/8"-14

6шт.

16

1272399C2

QUICK MALE COUPLING

7/8 NF, Self-Sealing, Male

6шт.

17

218-5062

HYD CONNECTOR,7/8"-14, 37 Degree x 7/8"-14, O-Ring

adapter

2шт.

18

218-5065

HYD CONNECTOR,1-1/16" - 12 Male JIC x 7/8" - 14 Male ORB

Adapter

3шт.

23

413-820

BOLT,Hex, 1/2" - 13 x 1-1/4", Gr 5

2шт.

24

80679

LOCK WASHER,1/20.507 CST ZND

2шт.

25

425-108

NUT,1/2" - 13, Gr 5

2шт.

26

413-620

BOLT,Hex, 3/8" - 16 x 1-1/4", Gr 5

4шт.

27

895-11008

WASHER,9mm ID x 16mm OD x 1.6mm Thk

4шт.

28

425-106

NUT,3/8"-16, Cl 5

4шт.

29

306132C1

CABLE TIE,14.5" L

CABLE STRAP 14 in

4шт.

31

218-987

ADAPTER,90 Degree, 37 Degree Fl, 1 1/16"-12 Male x 1 1/16"-12 Fem

1шт.

32

357375A1

HOSE ASSY.

2шт.

33

357374A1

HOSE ASSY.

2шт.

35

218-736

UNION,7/8"-14, 37 Degree x 7/8"-14, 37 Degree

4шт.

36

357382A1

HOSE ASSY.

4шт.

Выбрано товаров: 26