Запчасти Case IH L555 (09-05) - MOUNTING BRACKETS CX70 - CX100 (09) - CHASSIS/ATTACHMENTS

Схема запчастей Case IH L555 - (09-05) - MOUNTING BRACKETS CX70 - CX100 (09) - CHASSIS/ATTACHMENTS
FIT
1:1
100%

Артикул

Название

Примечание

Количество

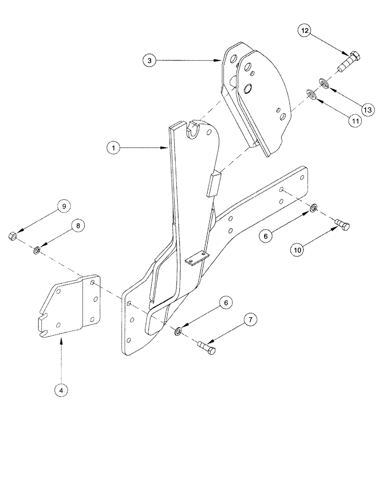
1

345637A1

BRACKET

Right Hand

1шт.

1

345638A1

BRACKET

Left Hand, Not Illustrated

1шт.

3

337628A3

BOOM

2шт.

4

338548A2

PLATE

Right Hand

1шт.

4

338549A2

PLATE

Left Hand, Not Illustrated

1шт.

6

896-10020

WASHER,21.8mm ID x 37.5mm OD x 4mm Thk

22 x 37 x 4 mm

14шт.

7

827-20070

BOLT,Hex, M20 x 2.5 x 70mm, Cl 10.9

6шт.

8

892-11020

LOCK WASHER,M20

6шт.

9

829-1420

NUT,M20, Cl 10

6шт.

10

627-20050

BOLT,Hex, M20 x 2.5 x 50mm, Cl 10.9, Full Thd

8шт.

11

496-31106

WASHER,1 1/16" x 2" x .219", HDN

1-1/16 x 2 x 7/32

2шт.

12

426-1656

BOLT,Hex, 1" - 8 x 3-1/2", Gr 8

1 x 3-1/2

2шт.

13

492-11100

LOCK WASHER,1"

1"

2шт.

Выбрано товаров: 13