Запчасти Case IH L650 (8-12) - HYDRAULICS - EXTERNAL VALVE (2 FUNCTION W/OUT SELF LEVELING) (08) - HYDRAULICS

Схема запчастей Case IH L650 - (8-12) - HYDRAULICS - EXTERNAL VALVE (2 FUNCTION W/OUT SELF LEVELING) (08) - HYDRAULICS
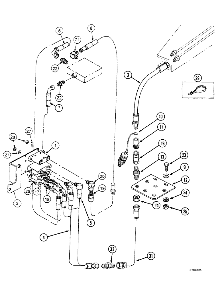
29
33
19
7
26
24
21
22
10
4
9
14
5
20
17
31
28
27
3
25
13
16
12
1
11
22
27
23
18
2
6
8
FIT
1:1
100%

Артикул

Название

Примечание

Количество

1

105080A1

VALVE

ASSY., control See Figure(s) : 8-40

1шт.

2

246939A2

SUPPORT

1шт.

3

327199A2

HOSE

1778 mm (70 in.)

4шт.

4

357374A1

HOSE ASSY.

356 mm (14 in.)

1шт.

5

357375A1

HOSE ASSY.

356 mm (14 in.)

1шт.

6

222635A1

HOSE ASSY.,15.88mm ID x 1270mm L

1270 mm (50 in.) supply

1шт.

7

222637A2

HOSE ASSY.

1593 mm (62 in.) return

1шт.

8

222638A1

HOSE ASSY.

1143 mm (45 in.) signal

1шт.

9

495-11053

WASHER,1/2", SAE

(17/32" x 1-1/16" x 3/32") 1/2", SAE

2шт.

10

REF

INSTRUCTION

PLUG See Figure : 8-7

1шт.

11

1272400C1

COUPLING

female

4шт.

12

327222A1

PLATE

1шт.

13

218-675

FITTING,Blkhd, 7/8"-14, 37 Degree x 7/8"-14, 37 Degree

FIT STL BULKHD .625MJ .625MJ

4шт.

14

218-1251

BHD LOCK NUT,Blkhd, 7/8"-14

NUT, LOCK, Blkhd, 7/8"-14

4шт.

16

1272399C2

QUICK MALE COUPLING

7/8 NF, self-sealing, male

4шт.

16a

237-6010

O-RING,0.097" Thk x 0.755" ID, -910, Cl 6, 90 Duro

10-1, 90 Duro, .755" ID x .097" Thk, Not illustrated

4шт.

237-6010 S O-RING, 5/8 OD TUBE CLASS 6

1шт.

17

218-5062

HYD CONNECTOR,7/8"-14, 37 Degree x 7/8"-14, O-Ring

7/8 fl x Or

2шт.

18

201-103

HYD CONNECTOR,1" - 14 Male ORFS x 7/8" - 14 Male ORB

CONNECTOR, HYD., 1"-14 ORFS x 7/8"-14 ORB

2шт.

201-103 CONNECTOR, 5/8 ORFS-ORB 5/8

1шт.

19

T53145

CHECK VALVE

1шт.

20

218-5201

90 ELBOW,90 Degree, 7/8"-14 O-Ring x 1/2" NPSM Fem

90

1шт.

21

700-345

ELBOW,90 Degree Elbow, 11/16" - 16 Male ORFS x M18 x 1.5 Male ORB

90 11/16 fc sl x 18 Or

1шт.

22

700-103

HYD CONNECTOR,1" - 14 Male ORFS x M22 x 1.5 Male ORB

CONNECTOR, HYD., 1"-14 ORFS x M22 x 1.5 ORB

2шт.

700-103 CONNECTOR, 16 mm ORFS x M22 ORB

1шт.

23

413-820

BOLT,Hex, 1/2" - 13 x 1-1/4", Gr 5

2шт.

24

80679

LOCK WASHER,1/20.507 CST ZND

WASHER, LOCK, 1/2"

2шт.

25

425-108

NUT,1/2" - 13, Gr 5

NUT, 1/2"-13, G5

2шт.

26

413-620

BOLT,Hex, 3/8" - 16 x 1-1/4", Gr 5

4шт.

27

492-11038

LOCK WASHER,3/8"

4шт.

28

425-106

NUT,3/8"-16, Cl 5

4шт.

29

306132C1

CABLE TIE,14.5" L

14 in.

4шт.

31

357376A1

HOSE ASSY.

1778 mm (70 in.)

4шт.

33

218-736

UNION,7/8"-14, 37 Degree x 7/8"-14, 37 Degree

4шт.

238-6016 S O-RING, 5/8 x 3/4 CLASS 6

1шт.

637-63193 O-RING, 2.2W x 19.3 ID mm CL 6

1шт.

Выбрано товаров: 36