Запчасти Case IH L655 (08-09) - HYDRAULIC CONTROLS MOUNTING 2 Function MX100 - MX135 Synchromesh Transmission (08) - HYDRAULICS

Схема запчастей Case IH L655 - (08-09) - HYDRAULIC CONTROLS MOUNTING 2 Function MX100 - MX135 Synchromesh Transmission (08) - HYDRAULICS
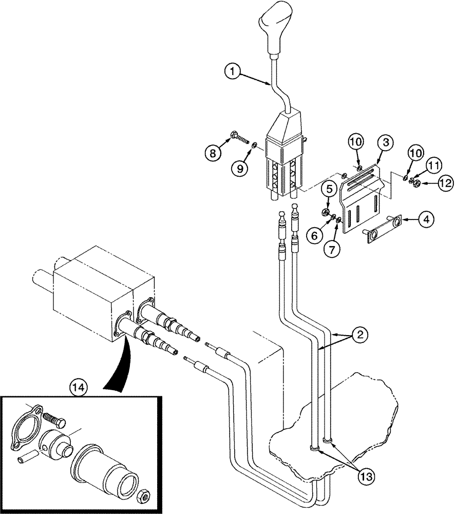
10
14
5
2
11
4
13
1
12
3
7
10
6
9
8
FIT
1:1
100%

Артикул

Название

Примечание

Количество

1

REF

INSTRUCTION

Controller, See Figure 8-10

1шт.

2

REF

INSTRUCTION

Cable

2шт.

3

258822A1

SUPPORT

1шт.

4

295751A1

SUPPORT

1шт.

5

425-106

NUT,3/8"-16, Cl 5

2шт.

6

492-11038

LOCK WASHER,3/8"

2шт.

7

495-21056

WASHER,1/2"

9/16 x 1-3/8 x 7/64

2шт.

8

413-448

BOLT,Hex, 1/4" - 20 x 3", Gr 5

1/4 x 3

2шт.

9

495-11028

WASHER,1/4", SAE

(9/32 x 5/8 x 1/16")

2шт.

10

495-21031

WASHER,1/4"

5/16 x 3/4 x 1/16

4шт.

11

492-11025

LOCK WASHER,1/4"

2шт.

12

425-104

NUT,1/4"-20, Cl 5

2шт.

13

182045A1

GROMMET

2шт.

14

252798A1

SET OF PARTS

2шт.

Выбрано товаров: 14